EasyManua.ls Logo

Bose 1800

Bose 1800
32 pages
To Next Page IconTo Next Page
To Next Page IconTo Next Page
To Previous Page IconTo Previous Page
To Previous Page IconTo Previous Page
Loading...
10
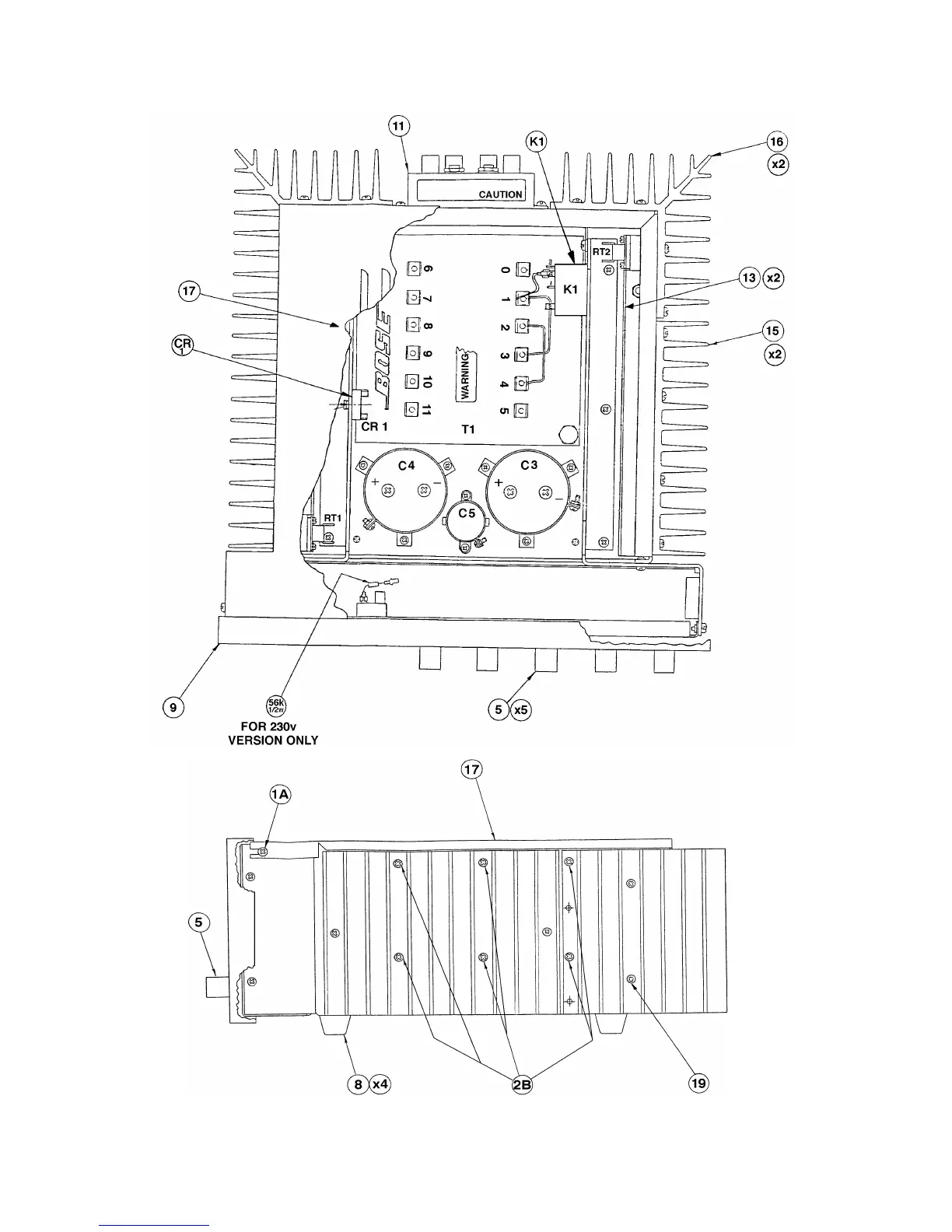
Figure 1. 1801 Component Location
Figure 2. 1801 Side View

Related product manuals