EasyManua.ls Logo

Bose 1800

Bose 1800
32 pages
To Next Page IconTo Next Page
To Next Page IconTo Next Page
To Previous Page IconTo Previous Page
To Previous Page IconTo Previous Page
Loading...
24
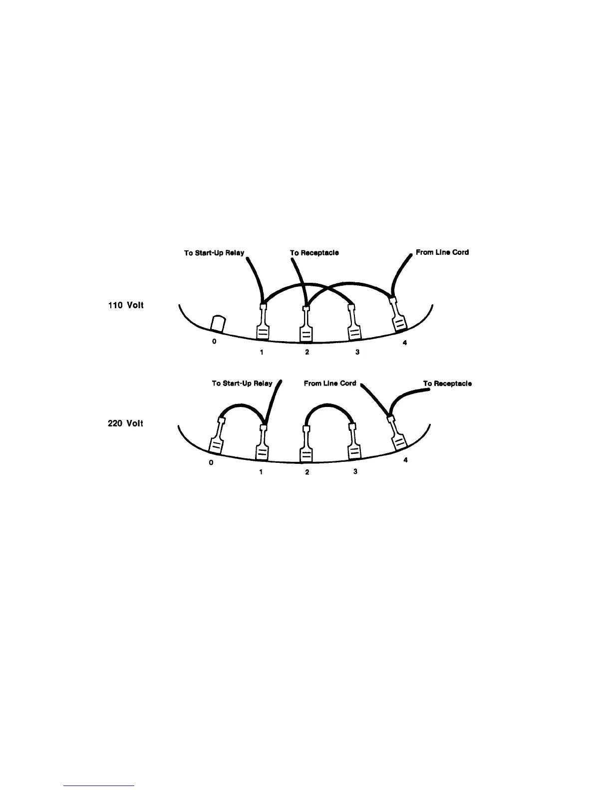
VOLTAGE CONVERSION INSTRUCTIONS
1. Perform Top Cover removal procedures for the model amplifier your going to convert.
2. Refer to the figures below for the voltage conversion being performed.
3. On the 1801 when converting to 110 volts remove the in-line resistor found wired to the
thermal cutoff indicator. Connect the wire directly. For 220 voltage conversion connect a
56k ohm 1/2 Watt resistor directly to the thermal cutoff indicator terminal.
4. Use an MDL 10 amp fuse for 110 volt operation.
5. Use an MDL 5 amp fuse for 220 volt operation.
NOTE: FOR 220 VOLT AC USERS ONLY
For 110 volt operation of the accessory outlet, move the wire labeled "TO RECEPTACLE"
from transformer connector #4 to connector #2. The amplifier will operate on 220 volts
and provide 110 volts to the accessory outlet (up to a maximum of 3 amps).

Related product manuals