EasyManua.ls Logo

Bose L1 Pro32

Bose L1 Pro32
42 pages
To Next Page IconTo Next Page
To Next Page IconTo Next Page
To Previous Page IconTo Previous Page
To Previous Page IconTo Previous Page
Loading...
17
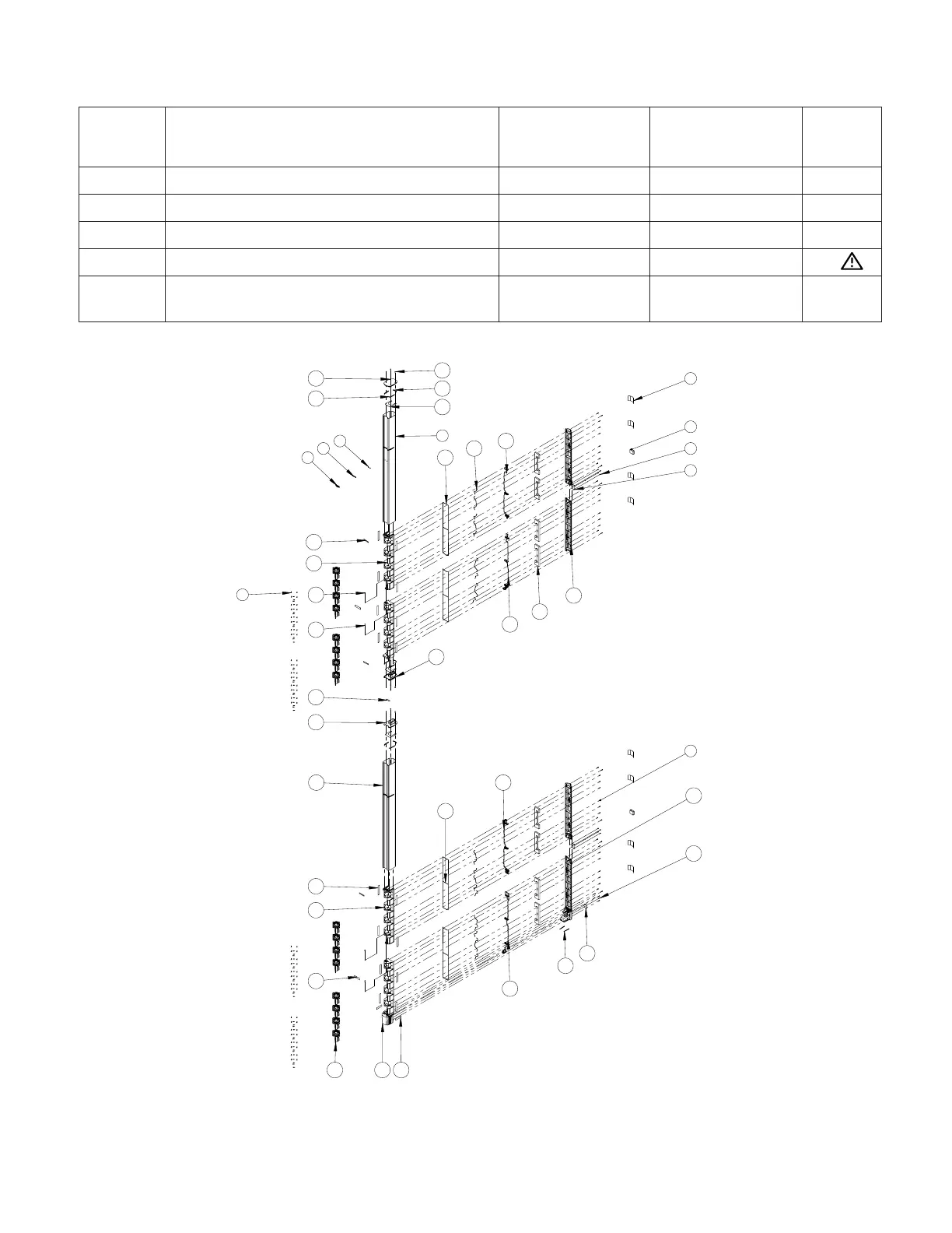
Main Part List
L1 Pro32 Array Speaker (see Figure 3)
Item
Number
Description Material Number
Vendor Part
Number
Note
32 CABLE, ARRAY, 10PIN - T641700171900
33 ENDCAP, 3 (LOWER ARRAY) 813554-0110 T910400040040
34 BAFFLE, ARRAY, LOWER - T100430000100
35 DRIVER, 2 IN 812886-0010 T911600010920 3
36 NON WOVEN, ADHESIVE, BLACK, 3M
9448HKB
- T182900003370
8
7
17
18
19
20
1
2
3
4
5 24
25
35
17
21
16
15
14
12
13
11
10
29
32
30
17
19
26
33
28
34
18
23
31
5
6
22
27
9
36
19
8
7
6
5 4 3
2
1
8
7 6 5
4 3 2
1
F
E
D
C
B
A
E
D
C
B
A
F
表单编号:TTR4-001 REV:10
Figure 3. L1 Pro32 Array Speaker Exploded View

Other manuals for Bose L1 Pro32

Related product manuals