EasyManua.ls Logo

Bristan Buzz - Installation Requirements; System Compatibility; Gravity and Pumped System Requirements; Pipework Flushing Procedure

Bristan Buzz
24 pages
Print Icon
To Next Page IconTo Next Page
To Next Page IconTo Next Page
To Previous Page IconTo Previous Page
To Previous Page IconTo Previous Page
Loading...
Installation Requirements
This shower valve must be installed in
compliance with current water regulations.
If you have any doubts about the water
regulation requirements contact your local
water services provider or use the services
of a professional plumber.
This shower valve is suitable for use with
the following water supply systems.
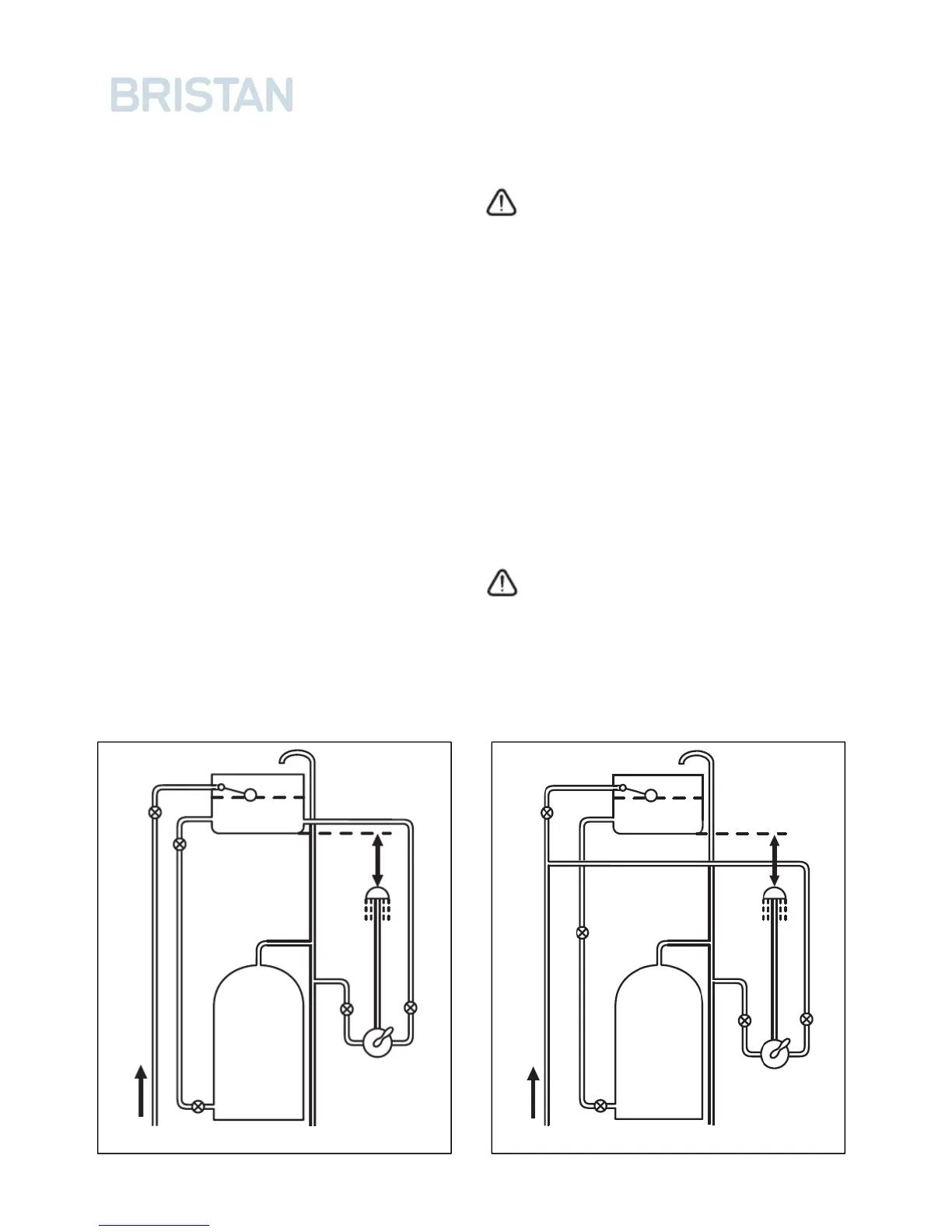
Gravity Fed Hot and Cold
(pressure Balanced)
Gravity Fed Hot and Mains Cold
(differential pressure – see Specification
section on page 5.
Instantaneous Water Heater
(combination boiler)
Unvented System
Pumped System
Gravity Fed Hot and Cold
Important: If you install this shower
valve with a gravity fed system, there must
be a minimum head (vertical distance)
from the underside of the cold water
storage tank to the shower valve position of
at least 5 metres.
Note: Pumped system (with Essex
flange) If you install this shower valve to a
pumped gravity fed system where the
minimum head (vertical distance) from the
underside of the cold water storage tank to
the top of the hot water cylinder is less
than 1 metre we recommend an Essex
flange is used as shown on page 09.
Flushing Pipework
Important: Before connecting the
shower valve (see Installation on pages 12-
14), supply pipework must be flushed to
clear debris before connecting the shower
valve. Debris will reduce the performance
and life of the shower.
Gravity Fed Hot and Mains Cold
Cold mains supply Cold mains supply
2m min
2m
min
08

Related product manuals