EasyManua.ls Logo

Broderson IC-200-2J - Lubrication Charts and Schedules

Broderson IC-200-2J
79 pages
Print Icon
To Next Page IconTo Next Page
To Next Page IconTo Next Page
To Previous Page IconTo Previous Page
To Previous Page IconTo Previous Page
Loading...
3-9
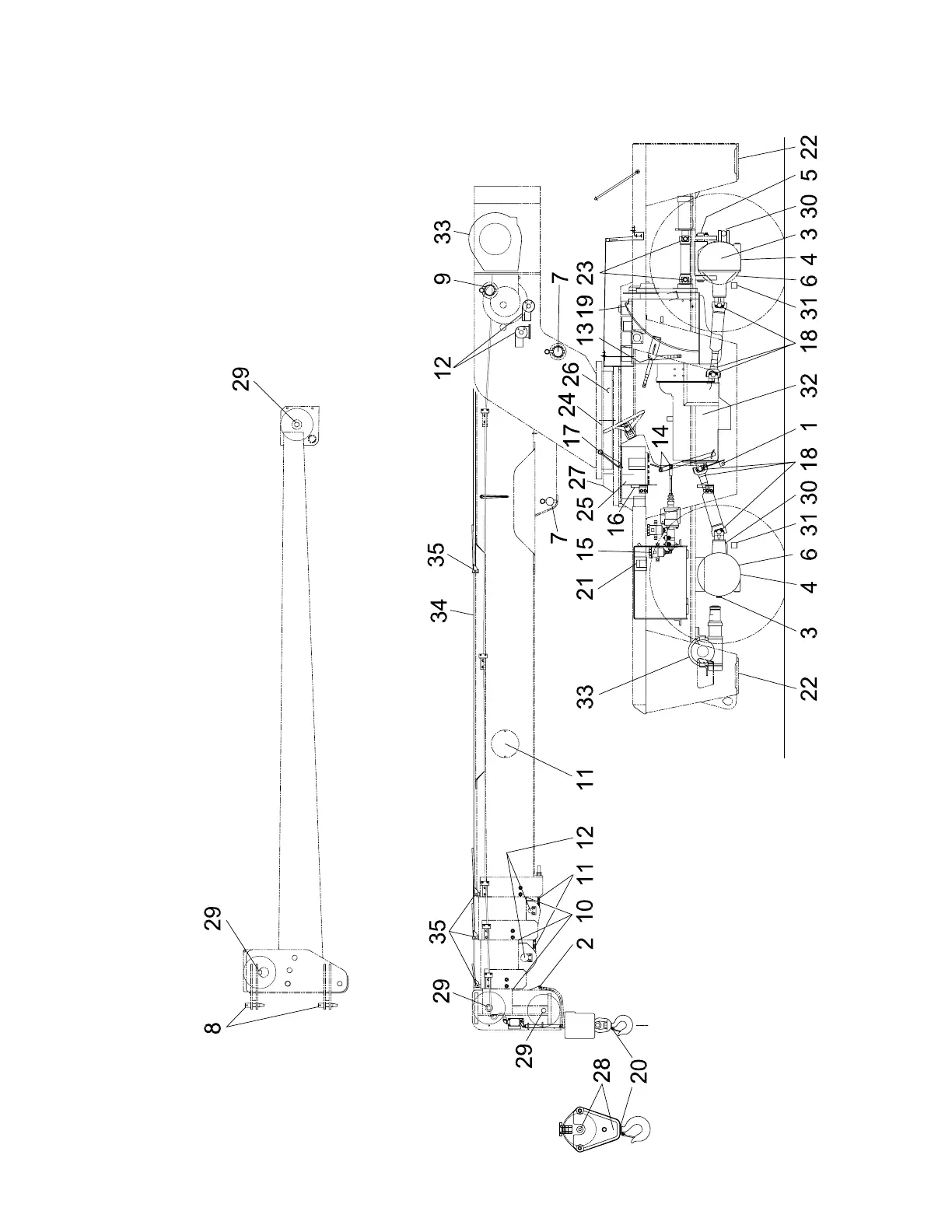
IC-200 LUBRICATION CHART

Related product manuals