EasyManua.ls Logo

Brute FT Series - Ladder Diagram Explanation

Brute FT Series
100 pages
Print Icon
To Next Page IconTo Next Page
To Next Page IconTo Next Page
To Previous Page IconTo Previous Page
To Previous Page IconTo Previous Page
Loading...
Page 52
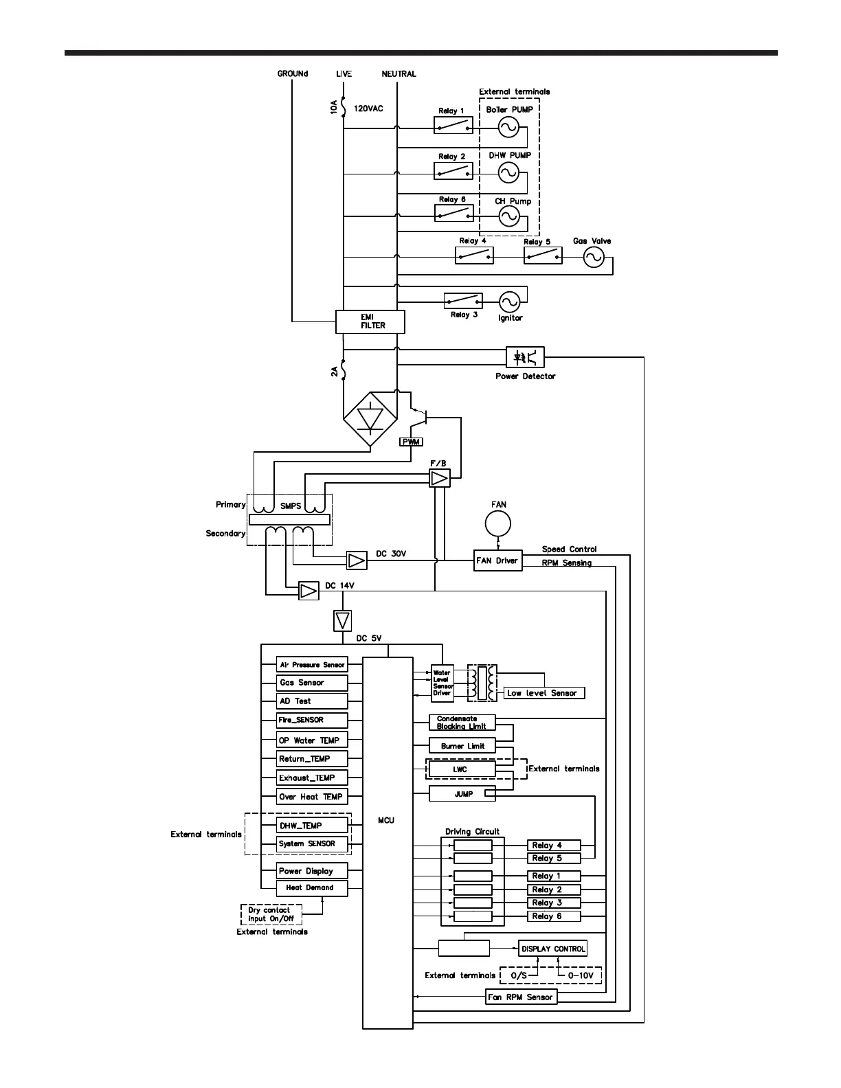
4.20 Ladder Diagram

Table of Contents