EasyManua.ls Logo

Brute FT Series - 100 MBH Heat Exchanger Assembly Parts

Brute FT Series
100 pages
Print Icon
To Next Page IconTo Next Page
To Next Page IconTo Next Page
To Previous Page IconTo Previous Page
To Previous Page IconTo Previous Page
Loading...
Page 82
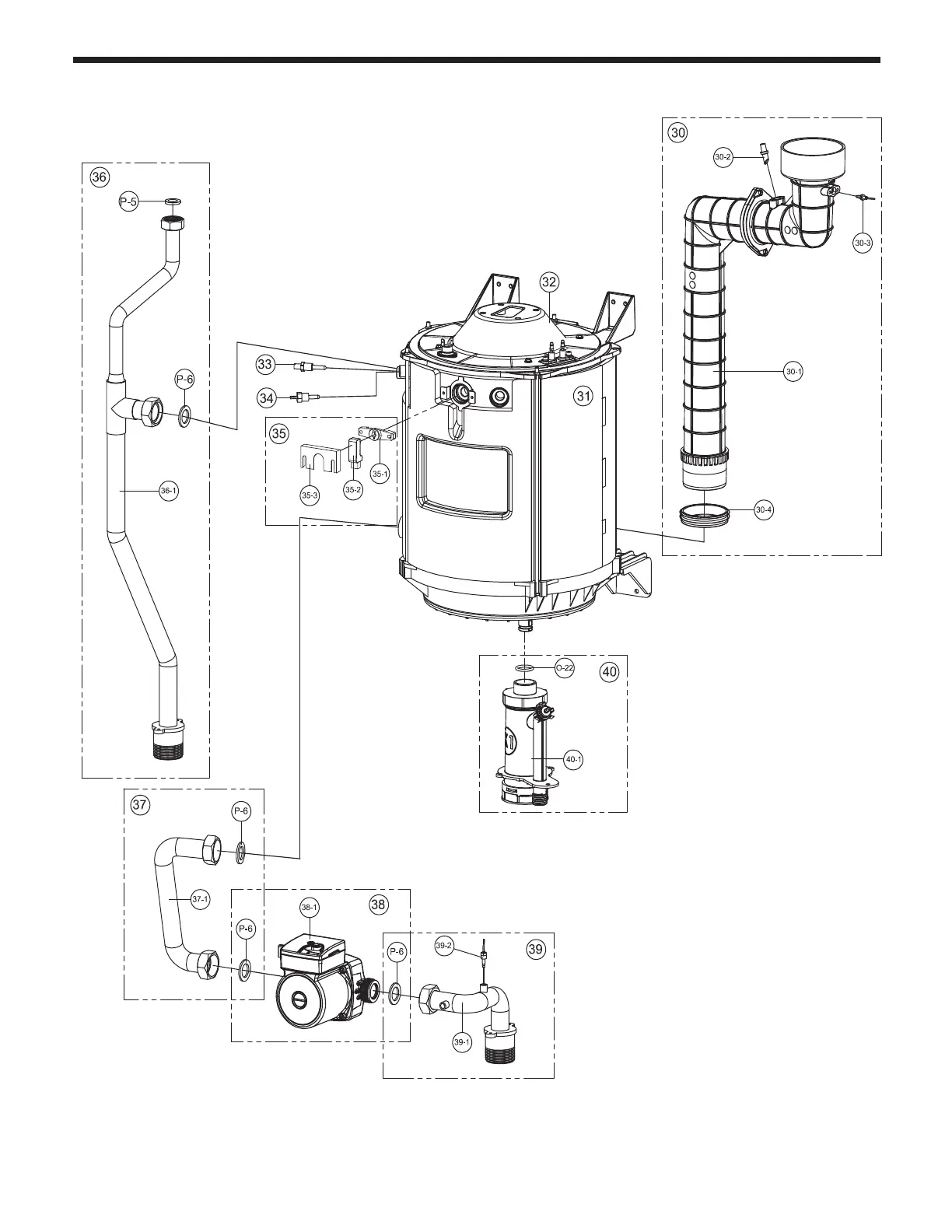
Heat Exchanger Assembly
100 MBH

Table of Contents