EasyManua.ls Logo

Burnham K2WTC - Page 50

Burnham K2WTC
160 pages
Print Icon
To Next Page IconTo Next Page
To Next Page IconTo Next Page
To Previous Page IconTo Previous Page
To Previous Page IconTo Previous Page
Loading...
50
107774-01 - 9/17
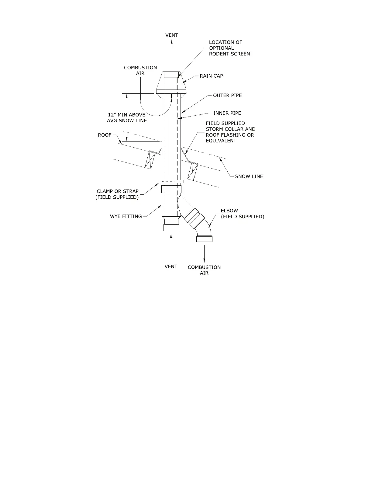
Figure 7.34: Installation of IPEX and DiversiTech Concentric Terminal Through Roof
VII. Venting E. Assembly of CPVC/PVC Vent Systems (continued)

Related product manuals