EasyManua.ls Logo

Calpeda I-MAT - Page 130

Calpeda I-MAT
Print Icon
To Next Page IconTo Next Page
To Next Page IconTo Next Page
To Previous Page IconTo Previous Page
To Previous Page IconTo Previous Page
Loading...
130 / 136 I-MAT_Ed2
C10
C9
C8
C7
C6
C5
C4
C3
C2
C1
B10
B9
B8
B7
B6
B5
B4
B3
B2
B1
A10
A9
A8
A7
A6
A5
A4
A3
A2
A1
B4
B3
B2
B1
B4
B3
B2
B1
B8
B7
B6
B5
B8
B7
B6
B5
C8
C7
C6
C5
C4
C3
C2
C1
FS 1
FS 2
C8
C7
C6
C5
C4
C3
C2
C1
nC
nO
C8
C7
C6
C5
C4
C3
C2
C1
nC nO
C10
C9
C8
C7
nO
-
+
B10
B9
A10
A9
A8
A7
A6
A5
A4
A3
A2
A1
nC
nO
RA100
RA100
nC
nO
A10
A9
A8
A7
A6
A5
A4
A3
A2
A1
nC
nO
RA100
RA100
nC nO
DI-EN
+24V
GND
DICOM1
DI5
DI4
DI3
DI2
DI1
+24V
A01-GND
A01
+24V
AIN2 +
AIN2 -
+24V
AIN1 +
AIN1 -
GND
NC2
NO2
COM2
+24V
GND
NC1
AIN1 -
COM1
+24V
GND
GND
+24V
AIN1 +
AIN1 -
GND
+24V
AIN1 +
AIN1 -
GND
+24V
AIN2 +
AIN2 -
GND
+24V
AIN2 +
AIN2 -
GND
GND
DICOM1
DI5
DI4
DI3
DI2
DI1
+24V
GND
DICOM1
DI5
DI4
DI3
DI2
DI1
+24V
GND
DICOM1
DI5
DI4
DI3
DI2
DI1
+24V
DI-EN
+24V
GND
DICOM1
A01-GND
A01
NC2
NO2
COM2
+24V
GND
NC1
NO1-
COM1
+24V
GND
NC2
NO2
COM2
+24V
GND
NC1
NO1-
COM1
+24V
GND
Fig.8
Fig.9
Fig.10
Fig.13
Fig.11
Fig.12
Fig.14
Fig.15
Fig.16
Fig.17
Fig.19
Fig.18
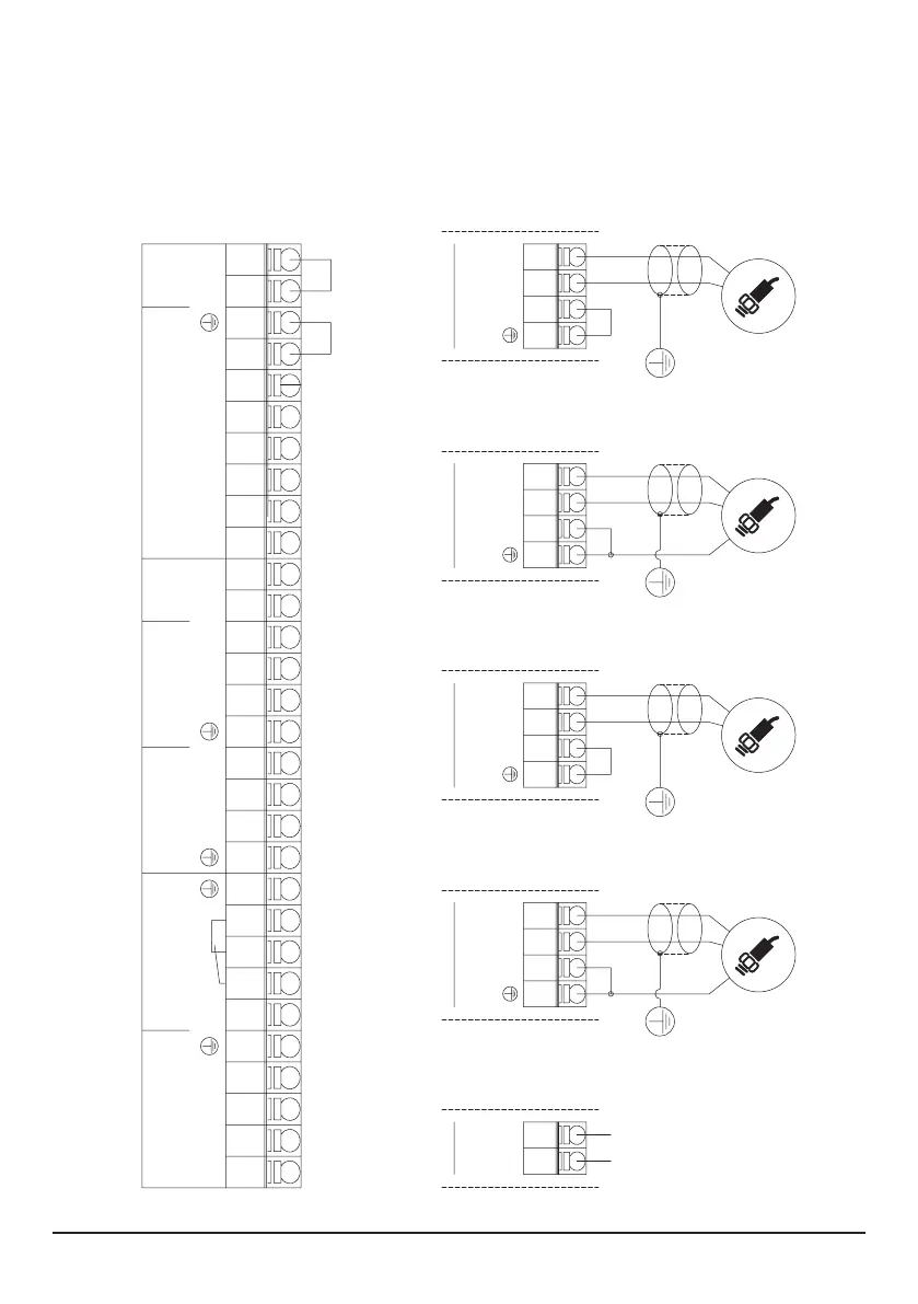
20.3 Collegamento elettrico segnali
Electrical connection signals
Elektrischer signalanschluss
Branchement électrique signaux
Conexión eléctrica señales
Электрическое соединение сигналов

Table of Contents

Related product manuals