EasyManua.ls Logo

Cameron NUFLO Scanner 2000 microEFM - Page 39

Cameron NUFLO Scanner 2000 microEFM
192 pages
Print Icon
To Next Page IconTo Next Page
To Next Page IconTo Next Page
To Previous Page IconTo Previous Page
To Previous Page IconTo Previous Page
Loading...

Scanner
®
2000 microEFM Section 2
 Remove the plug from the conduit opening in the top of the Scanner 2000 enclosure, route the turbine
VLJQDOFDEOHWKURXJKWKHRSHQLQJDQGFRQQHFWLWWRWKHPDLQFLUFXLWERDUG$ZLULQJGLDJUDPIRUWKHWXU-
bine input is provided in )LJXUHSDJH)RUKD]DUGRXVDUHDVUHYLHZ+D]DUGRXV$UHD,QVWDOODWLRQV
page 
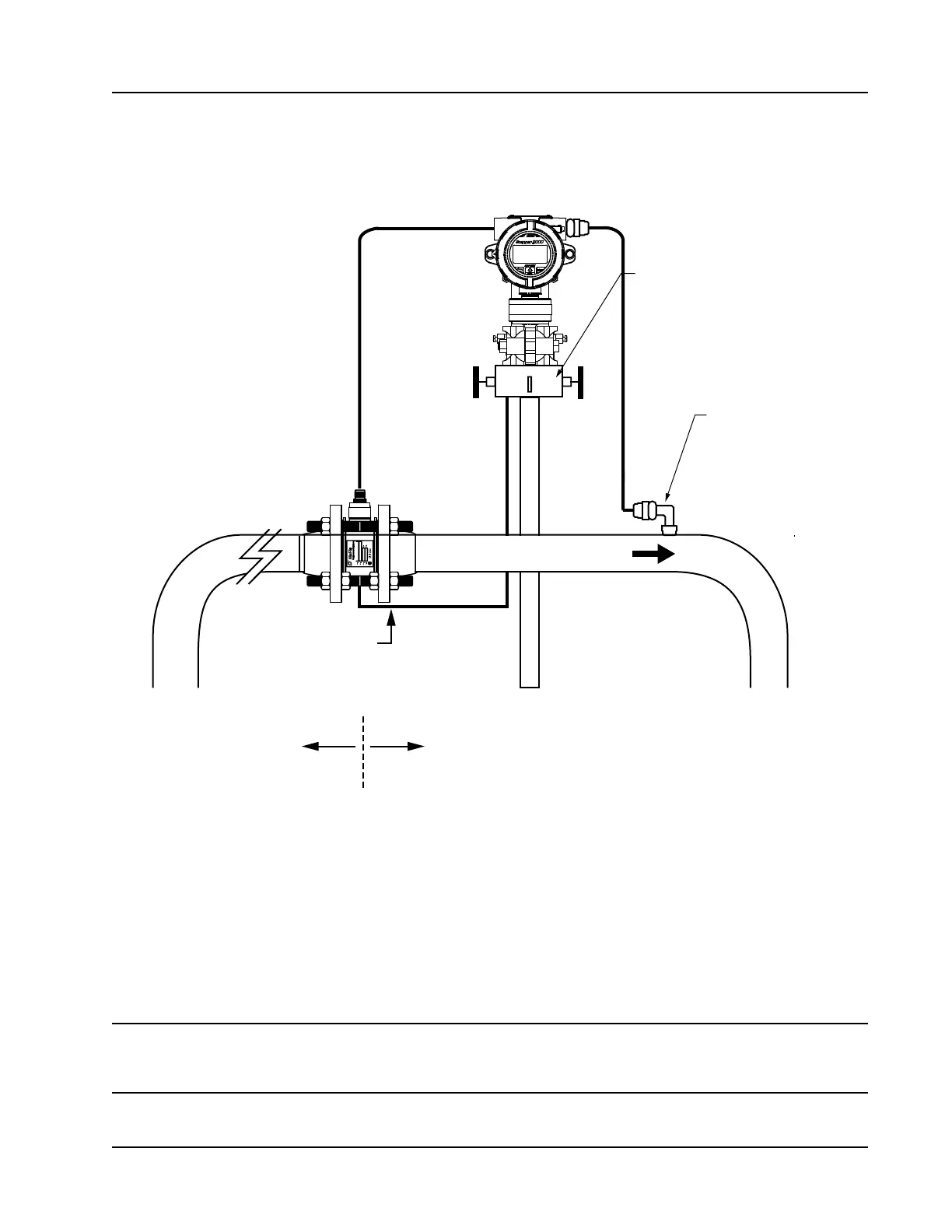
Flow
Manifold
Static pressure input
(manifold equalizer valve
must remain open)
H
L
RTD assembly
10 pipe diameters
upstream
5 pipe diameters
downstream
Figure 2.7—Remote-mount installation in an AGA-7 turbine meter run
 ,QVWDOOWKH57'DVVHPEO\LQWKHWKHUPRZHOO5HPRYHWKHSOXJIURPWKHRWKHUFRQGXLWRSHQLQJLQWKHWRS
of the Scanner 2000 enclosure, route the RTD assembly cable through the conduit opening in the top of
WKH6FDQQHUDQGFRQQHFWLWWRWKHPDLQFLUFXLWERDUG$ZLULQJGLDJUDPIRUWKH57'DVVHPEO\LV
provided in )LJXUHSDJH)RUKD]DUGRXVDUHDVUHYLHZ+D]DUGRXV$UHD,QVWDOODWLRQVSDJH
 =HURWKHVWDWLFSUHVVXUHDQGUHFDOLEUDWHWKHVWDWLFSUHVVXUHLIUHTXLUHG6HHWKH0RG:RU;3UR6RIWZDUH
8VHU0DQXDO3DUW1R$IRUFRPSOHWHLQVWUXFWLRQV6HHDOVR=HUR2IIVHW6WDWLF3UHVVXUHRU
'LIIHUHQWLDO3UHVVXUHSDJHDQG6WDWLF3UHVVXUH&DOLEUDWLRQDQG9HUL¿FDWLRQSDJH
CAUTION Do not put the Scanner into operation until the valves are positioned properly so that
SUHVVXUHLVVXSSOLHGWRERWKVLGHVRIWKH097)RULQVWUXFWLRQVRQSURSHUYDOYHSRVLWLRQV
see 3ODFLQJWKH6FDQQHULQWR2SHUDWLRQSDJH58.

Table of Contents

Related product manuals