EasyManua.ls Logo

Capenergy C 50 - Page 30

Default Icon
95 pages
Print Icon
To Next Page IconTo Next Page
To Next Page IconTo Next Page
To Previous Page IconTo Previous Page
To Previous Page IconTo Previous Page
Loading...
User Manual
Page 30 of 95
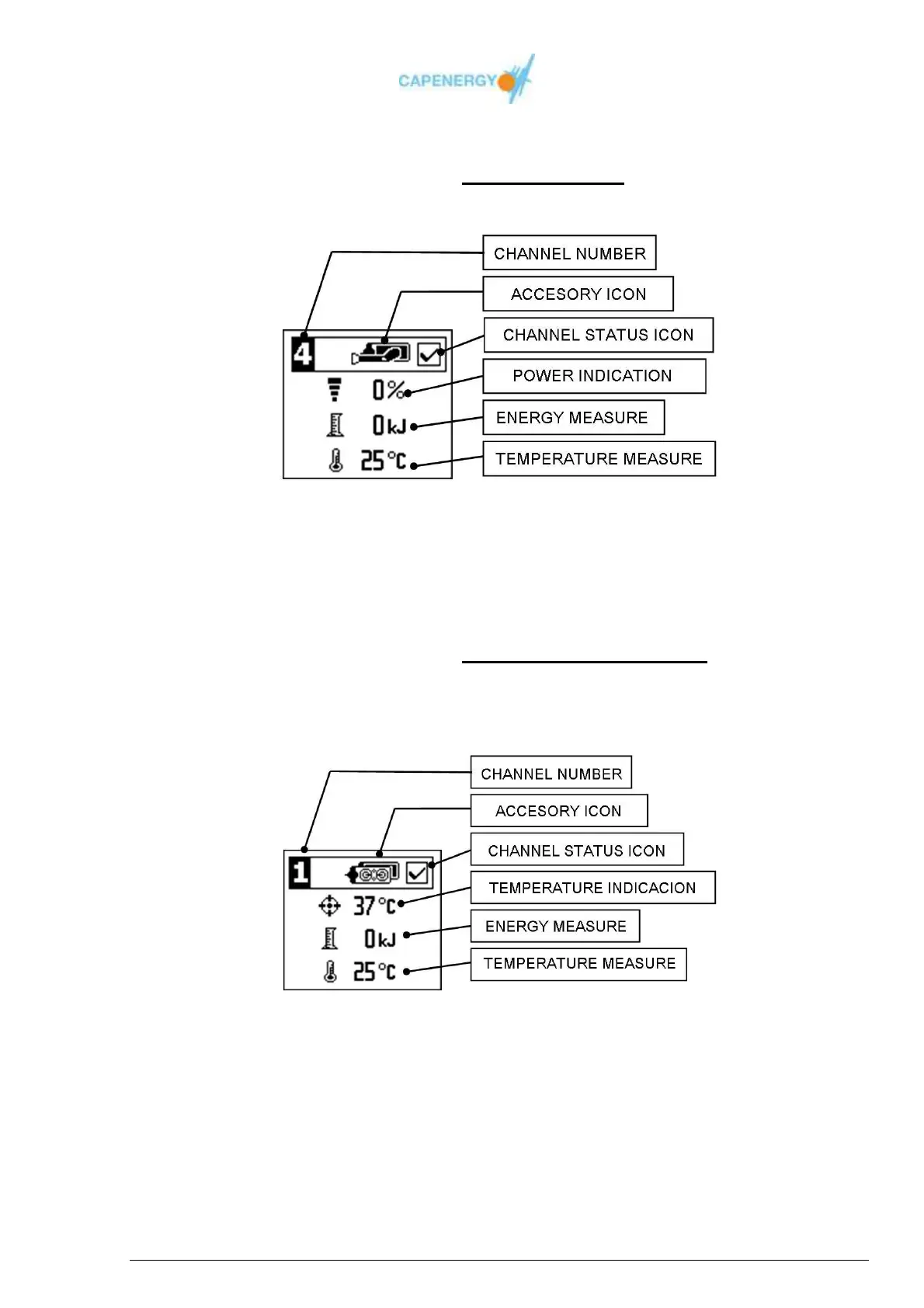
Screen detail FREE TREATMENT MODE
Channel configured by POWER control
Figure 4.4. Channel configured by POWER control.
Screen detail FREE TREATMENT MODE
Channel configured by TEMPERATURE control
Figure 4.5. Channel configured by TEMPERATURE control.

Related product manuals