EasyManua.ls Logo

Caple C816C - Control Panel

Caple C816C
28 pages
Print Icon
To Next Page IconTo Next Page
To Next Page IconTo Next Page
To Previous Page IconTo Previous Page
To Previous Page IconTo Previous Page
Loading...
Instruction manual C816C
12
Please keep this instruction manual for future reference
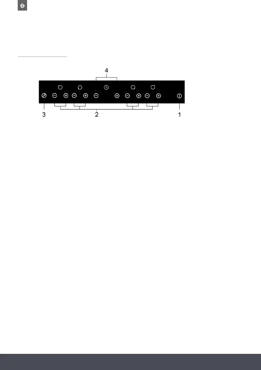
CONTROL PANEL
1. ON/OFF control
2. Power controls
3. Keylock control
4. Timer controls
WORKING PRINCIPLE
This ceramic hob directly applies resistance wire heating to the bottom of the pan.
The power output can be adjusted using the power controls on the control panel.
Refer to the ‘USING YOUR CERAMIC HOB’ section, page 14.

Related product manuals