EasyManua.ls Logo

Cessna T188C - Page 536

Cessna T188C
624 pages
Print Icon
To Next Page IconTo Next Page
To Next Page IconTo Next Page
To Previous Page IconTo Previous Page
To Previous Page IconTo Previous Page
Loading...
MODEL
188
&
T188
SERIES
SERVICE
MANUAL
SER
1s-038
(ON
TAX
ITS
|ri
IC
i
*_
=
a
s
~
o
7s _L
__
ra
S-
4-
a
I
'
44
BKIDC*«A~~~~~~ a>~,..
c.
,,I4..
*~o
.I
C
±I
U 3 0ru
~
~
Ip-'
tci.
_.*
C
'2
2 1
L
O
0-5,
2
a^f4
14S0
-
14-
5
_
S___
.-
s
WJM
'.
5-l0<»0-_.0
0 __E
I
A.
j*
1-,4w1-i-
__
5.141.0
-Hal-
i
______
_____________
Af
14_
S-°.
4
-14
-0
__
___
_______
______________
c_ o.14
_
14o-o
t
I
_P.s
14
'-'4-S_
_____
________
5
____________
P b6
I
S-C
..
oT-"7
.-
l
=-c
lb
O
-
4
o
-----
to.
--
o4L
'.S
4
TO
.
____
___
I.,
l
._
-LCI
o4
.
______
b._
,
WIRIN
DI
20___
_
I
ttL
l5
TIMIT
SfltSL
_
5-i
11.-
b0
|lOILJSIJ
T
C|t
o
s,
/
L
g7.
.
1
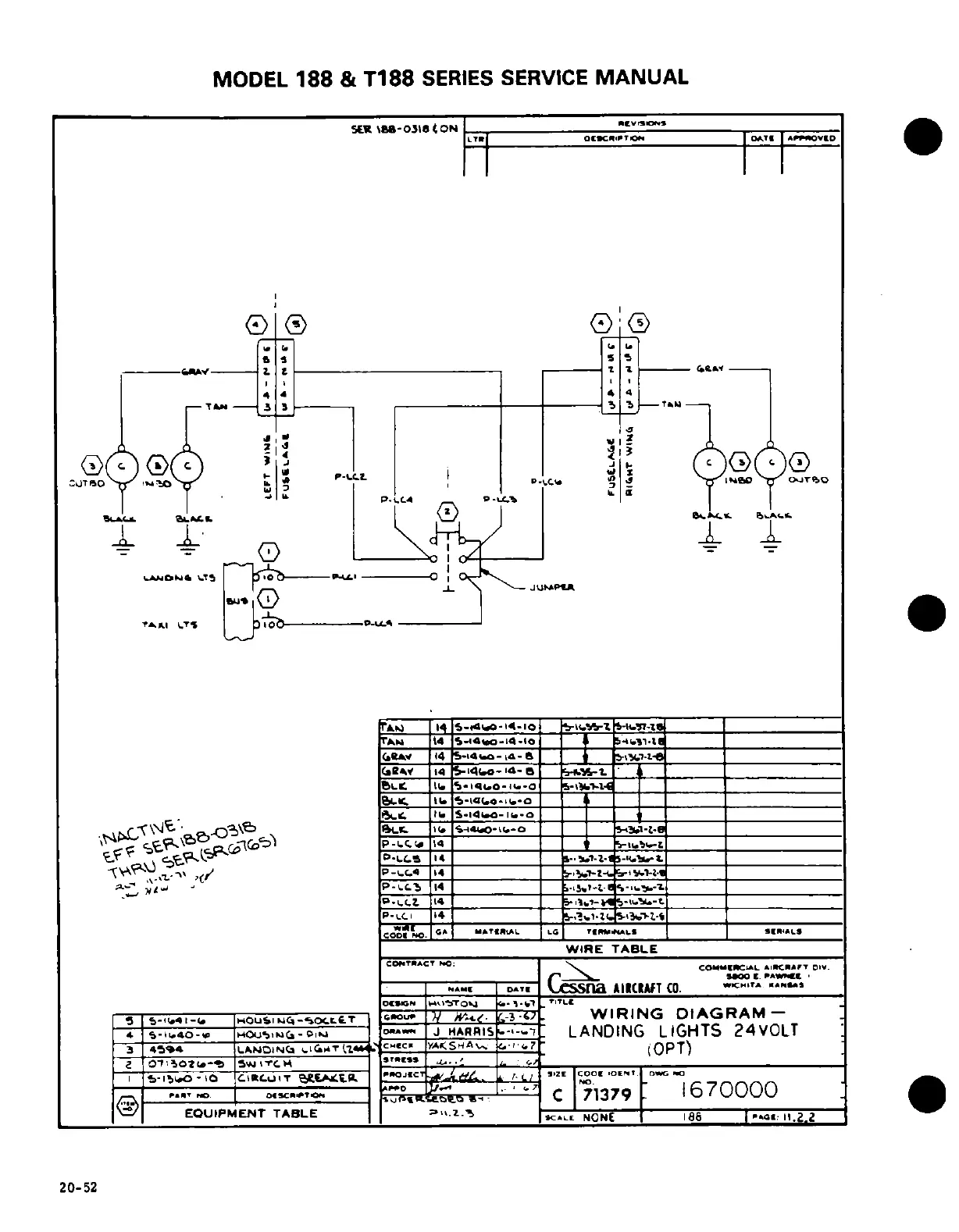
WIRING
DtIAGRAM-
4^~^^o~»-MuxI~c.-m
o
Sa40-J
HAR4RIS
--
M-I7
_
LANDING
LIGHTS
24VOLT
'~3"459
LANtINCa
Kl'1(
:
CMEC*
JYASC-
7
(OPT)
____
"
n*
osa
cT
Hsn
.
C
71379
-
I670000
I__
EOUIPMENT
TABLE
_
>I
..
z
.
LE,
NONE
18
PA4(
I.ZZ
20-52

Table of Contents

Related product manuals