EasyManua.ls Logo

Chamberlain 3240 - Connecting the Rail to the Header Bracket; Attach Rail to Header Bracket

Chamberlain 3240
36 pages
Print Icon
To Next Page IconTo Next Page
To Next Page IconTo Next Page
To Previous Page IconTo Previous Page
To Previous Page IconTo Previous Page
Loading...
10
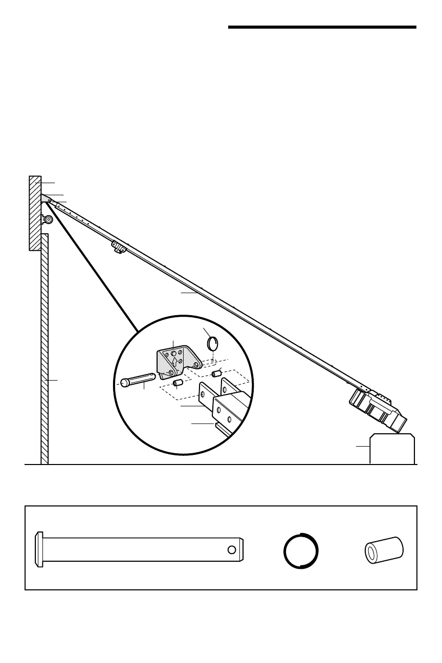
INSTALLATION STEP 3
Attach the Rail to the Header Bracket
Position the opener on the garage fl oor below the
header bracket. Use packing material as a protective
base. NOTE: If the door spring is in the way you’ll need
help. Have someone hold the opener securely on a
temporary support to allow the rail to clear the spring.
Position the rail bracket against the header bracket.
Align the bracket holes and join with a clevis pin
as shown.
Insert a ring fastener to secure.
HARDWARE SHOWN ACTUAL SIZE
Header Wall
Header Bracket
Rail Bracket
Rail
Rail
Rail
Bracket
Opener Carton or
Temporary Support
Garage Door
Header Bracket
Spacer
Spacer
Ring Fastener
Clevis Pin
5/16"x2-3/4"
Ring Fastener
Spacer
Clevis Pin
5/16"x2-3/4"

Related product manuals