EasyManua.ls Logo

Chamberlain 5410E 2013 - Page 13

Chamberlain 5410E 2013
36 pages
Print Icon
To Next Page IconTo Next Page
To Next Page IconTo Next Page
To Previous Page IconTo Previous Page
To Previous Page IconTo Previous Page
Loading...
13
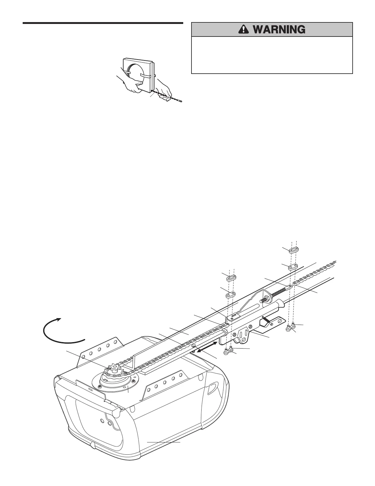
ASSEMBLY STEP 4
For Sliding and Swinging Gates Only
Install the Chain
1. Dispense a few inches of chain
from carton and fasten to trolley
with a master link from the
hardware bag. (Figure 1).
Push pins of master link bar
through chain link and hole in
front end of trolley.
Push master link cap over pins
and past pin notches.
Slide clip-on spring over cap and onto pin notches until both
pins are securely locked in place.
2. To prevent the trolley from jamming against the opener during
operation, position trolley 5 to 15 cm from the stop hole as
shown. Then dispense the chain around the opener sprocket
(Figure 1). Make sure the sprocket teeth engage the chain.
Proceed around to the chain sprocket bracket and forward to
the threaded trolley shaft.
3. Use the second master link to connect the chain to the fl at end
of the shaft (Figure 1). Check to make sure the chain is not
twisted.
To avoid possible SERIOUS INJURY to fi ngers from moving
opener:
ALWAYS keep hand clear of sprocket while operating opener.
• Securely attach sprocket cover BEFORE operating.
Sprocket
Motor Unit
Mounting
Plate
Install Chain
and Cable
in this Direction
Master
Link Pin
Master Link
Clip-On Spring
Master Link
Clip-On Spring
Flat End
of Trolley
Troll
ey
Pin Notch
Flat End of
Threaded Shaft
Master
Link Cap
Chain
Link
Rail
Master
Link C
ap
Chain
Chain Link
Trol
ley Stop
(Hex Bolt)
m
c
51
-5
Pin Notch
Master
L
ink
Pin
Figure 1
Flat End of Trolley
Threaded Shaft
Install Chain
In This Direction
Deje la cadena y
el cable dentro d
cartón para evita
que se tuerzan.
Mantenga tensos el cable
la cadena mientras los alimente.
Leave Chain
Inside Carton to
Prevent Kinking
Keep Chain Taut When
Dispensing

Related product manuals