EasyManua.ls Logo

Chamberlain LiftMaster Security+ 311 - Fasten the Rail to the Motor Unit; Install the Trolley

Chamberlain LiftMaster Security+ 311
80 pages
Print Icon
To Next Page IconTo Next Page
To Next Page IconTo Next Page
To Previous Page IconTo Previous Page
To Previous Page IconTo Previous Page
Loading...
Temporary Stop
Screwdriver
Trolley
Threaded
Shaft
Inner Nut
5/16"
Lock
Washer
5/16"
Outer Nut
5/16"
Trolley
Trolley
TO GARAGE DOOR
9
To avoid SERIOUS damage to garage door opener,
use ONLY those bolts/fasteners mounted in the top of
the opener.
WARNING
CAUTION
WARNING
WARNING
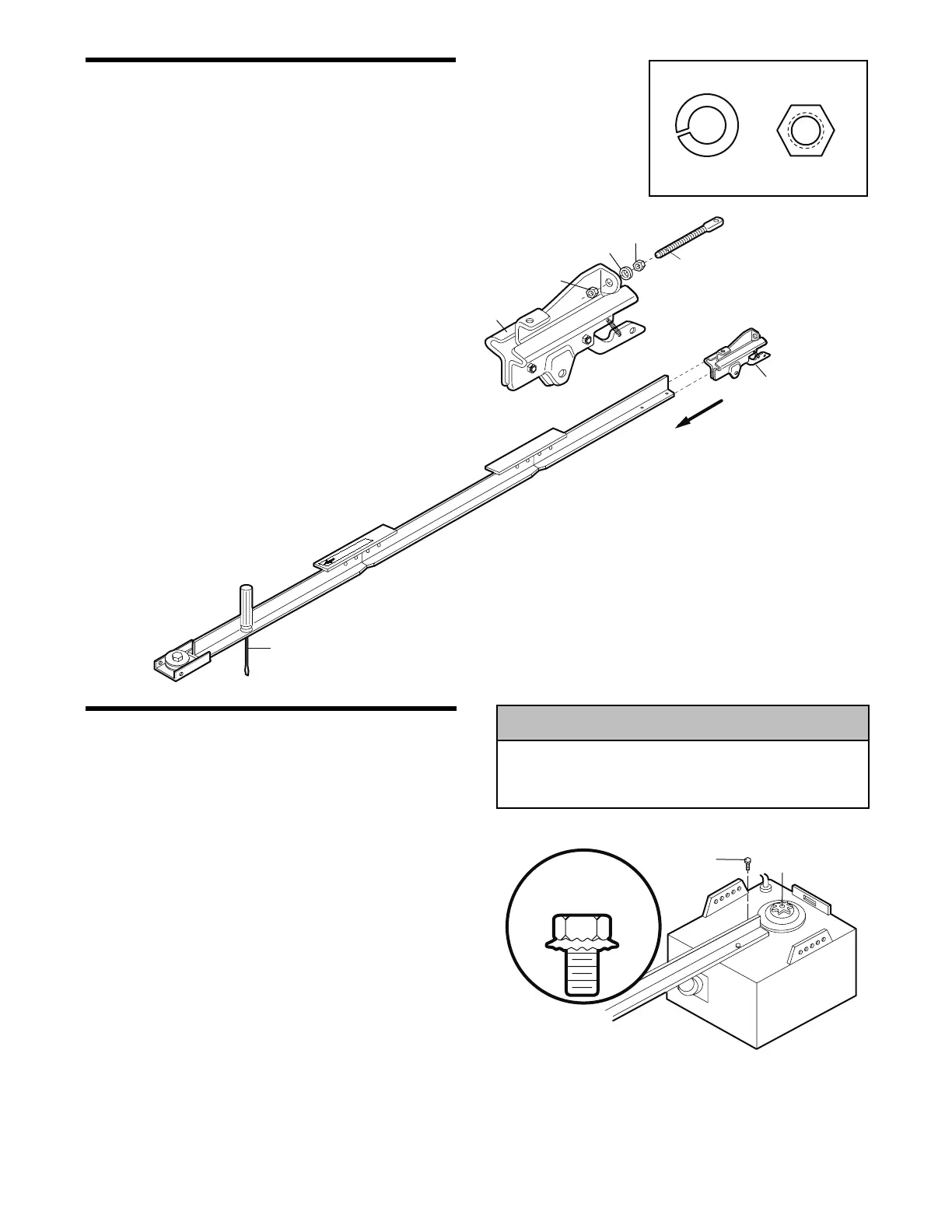
ASSEMBLY STEP 3
Fasten the Rail to the Motor Unit
• Remove the two washered bolts mounted in top of
motor unit.
• Position rail at an angle to opener so one hole in
rail and motor unit line up.
• Thread one of the washered bolts part way in.
Use only these bolts! Use of any other bolts will
cause serious damage to door opener.
Align rail over sprocket. Cut tape from rail
and chain.
Washered Bolt
5/16"-18x1/2"
Motor Unit
Sprocket
USE ONLY THIS
TYPE AND SIZE
BOLT
Lock Washer
5/16"
Nut
5/16"-18
HARDWARE SHOWN ACTUAL SIZE
ASSEMBLY STEP 2
Install the Trolley
Attach the trolley threaded shaft to the trolley with
the lock washer and nuts as shown.
As a temporary stop, insert a screwdriver into the
hole in the front end of the rail.
Slide the trolley assembly along the rail to the
screwdriver stop.
NOTE: If trolley hits against any nuts on the rail,
the bolts and nuts were attached from the wrong
side and must be repositioned.
Review Assembly Step 1.

Table of Contents

Related product manuals