EasyManua.ls Logo

Charles RT115 Tier 3 - Page 165

Default Icon
252 pages
Print Icon
To Next Page IconTo Next Page
To Next Page IconTo Next Page
To Previous Page IconTo Previous Page
To Previous Page IconTo Previous Page
Loading...
RT115 Tier 3 - SERVICE 165
10 HOUR SERVICE
RT115 Tier 3 - SERVICE 165
10 HOUR SERVICE
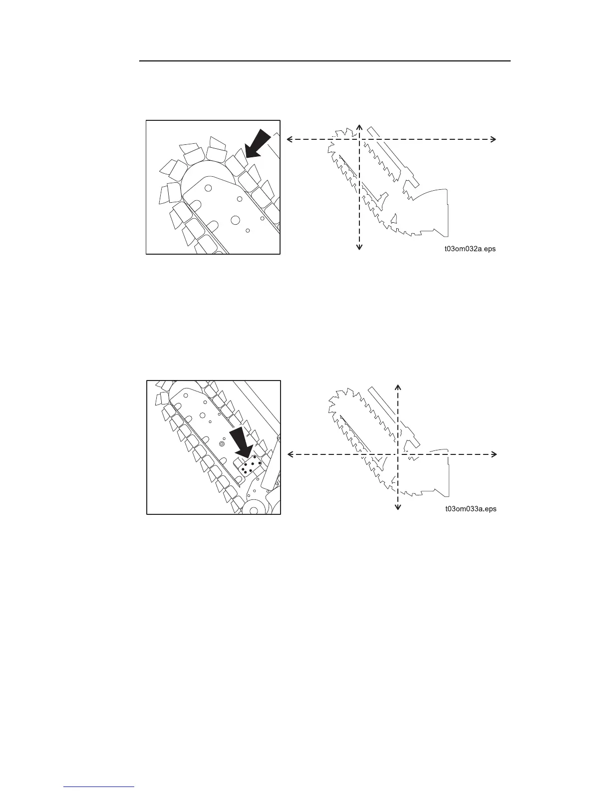
Check Digging Chain
Check chain every 10 hours. Replace worn or broken chains. If
sidebars are bent or loose on chain pins, chain spacers should be
used to join sidebars.
Check Boom Mounting Bolts
Check 10 bolts (5 on each side) every 10 hours and torque as
necessary to keep bolts and other fasteners tight. Check for
looseness or wear. Check that bolts are torqued to 250 ft•lb
(28 N•m).
Check Digging Chain
Check chain every 10 hours. Replace worn or broken chains. If
sidebars are bent or loose on chain pins, chain spacers should be
used to join sidebars.
Check Boom Mounting Bolts
Check 10 bolts (5 on each side) every 10 hours and torque as
necessary to keep bolts and other fasteners tight. Check for
looseness or wear. Check that bolts are torqued to 250 ft•lb
(28 N•m).

Table of Contents