EasyManua.ls Logo

Chroma 6460 - Page 47

Default Icon
66 pages
Print Icon
To Next Page IconTo Next Page
To Next Page IconTo Next Page
To Previous Page IconTo Previous Page
To Previous Page IconTo Previous Page
Loading...
Theory of Operation
4-3
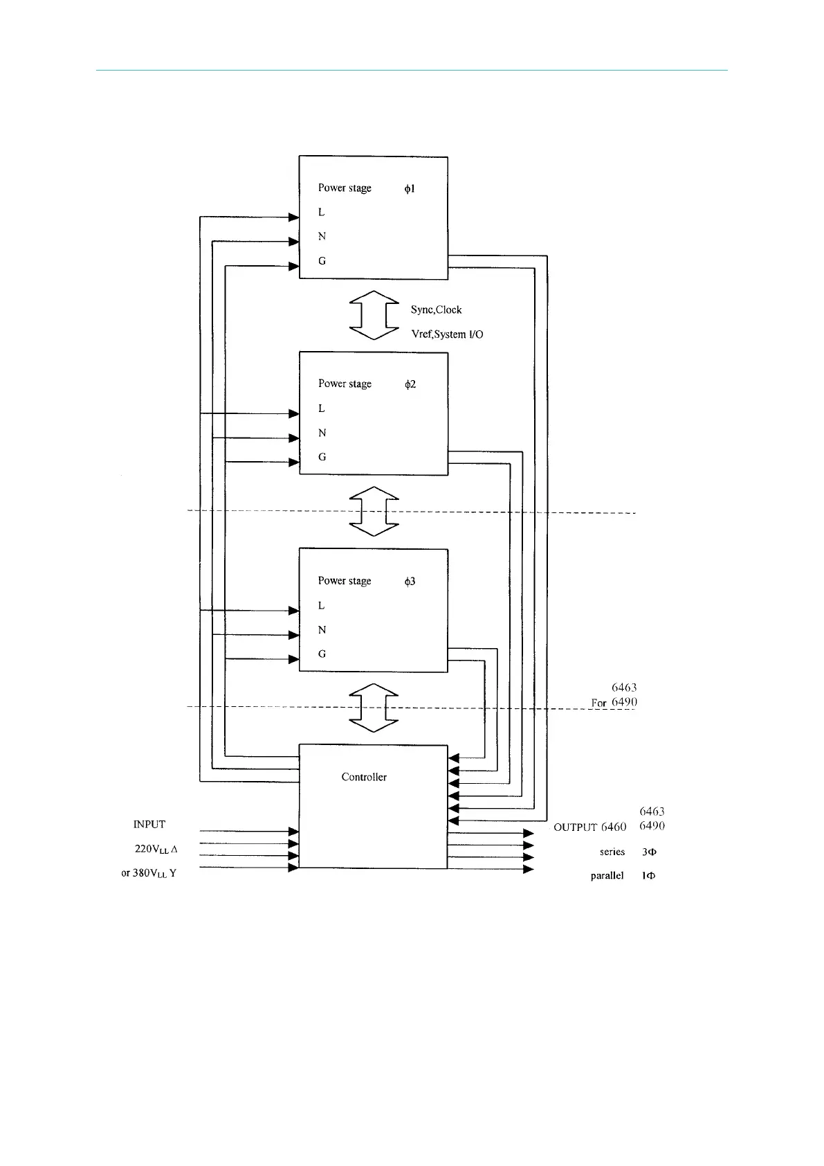
Figure 4-2 System Block Diagram

Related product manuals