EasyManua.ls Logo

Claas DISCO 3000TRC - Page 97

Claas DISCO 3000TRC
130 pages
Print Icon
To Next Page IconTo Next Page
To Next Page IconTo Next Page
To Previous Page IconTo Previous Page
To Previous Page IconTo Previous Page
Loading...
TIC LINER Hydraulic / Electric System
10/04 4-37
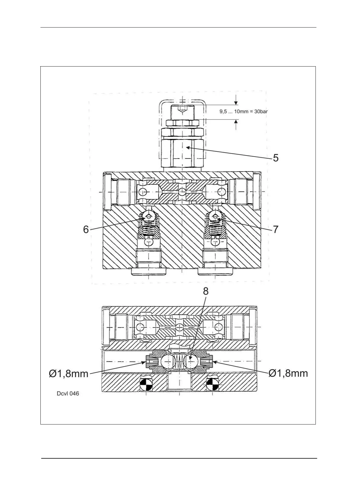
The higher the pressure relief valve (5) is set, the smaller the pressure
difference and consequently the lifting force of hydraulic cylinders (3)
and (4).

Table of Contents

Related product manuals