EasyManua.ls Logo

Claas DISCO 3000TRC - Flow Divider for Slopes

Claas DISCO 3000TRC
130 pages
Print Icon
To Next Page IconTo Next Page
To Next Page IconTo Next Page
To Previous Page IconTo Previous Page
To Previous Page IconTo Previous Page
Loading...
Hydraulic / Electric System LINER TIC
4-36 10/04
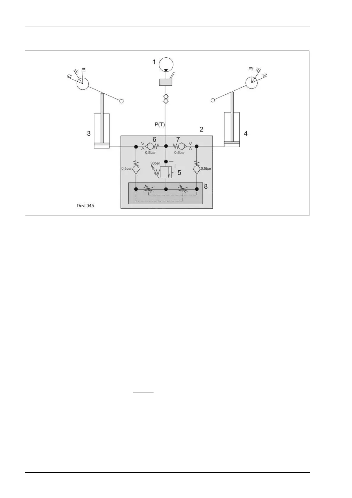
4.0 Flow divider for slopes
Function The volume flow of pump (1) is directed into the flow divider (2) via an
additional control unit of the tractor and port P(T).
This flow divider splits up the incoming volume flow into two equal volume
flows that flow to the hydraulic cylinders (3) and (4) via ports (A) and (B).
These volume flows are kept constant by a pressure balance (8) in flow
divider (2).
This control action also occurs when different loads occur on the
hydraulic cylinders (3) and (4), e.g. when working on slopes.
When working or turning on a slope, there are different pressures in the
hydraulic cylinders (3) and (4), depending on the position of the
implement. The pressure relief valve (5) and two non-return valves
prevent a cross-flow from (A) to (B) and vice versa.
The extended hydraulic cylinders (3) and (4) thus remain in their
positions. When the hydraulic cylinders (3) and (4) are retracted, oil flows
through the non-return valves (6) and (7).
The pressure relief valve (5) is pre-set to 30 bar. To determine the max.
possible working pressure and consequently the lifting force, the pressure
of the pressure relief valve must be subtracted from the pump pressure
(tractor).
Example: 180 bar pump pressure (tractor)
- 30 bar
pressure relief valve (5)
150 bar Pressure difference = working pressure = lifting force

Table of Contents

Related product manuals