EasyManua.ls Logo

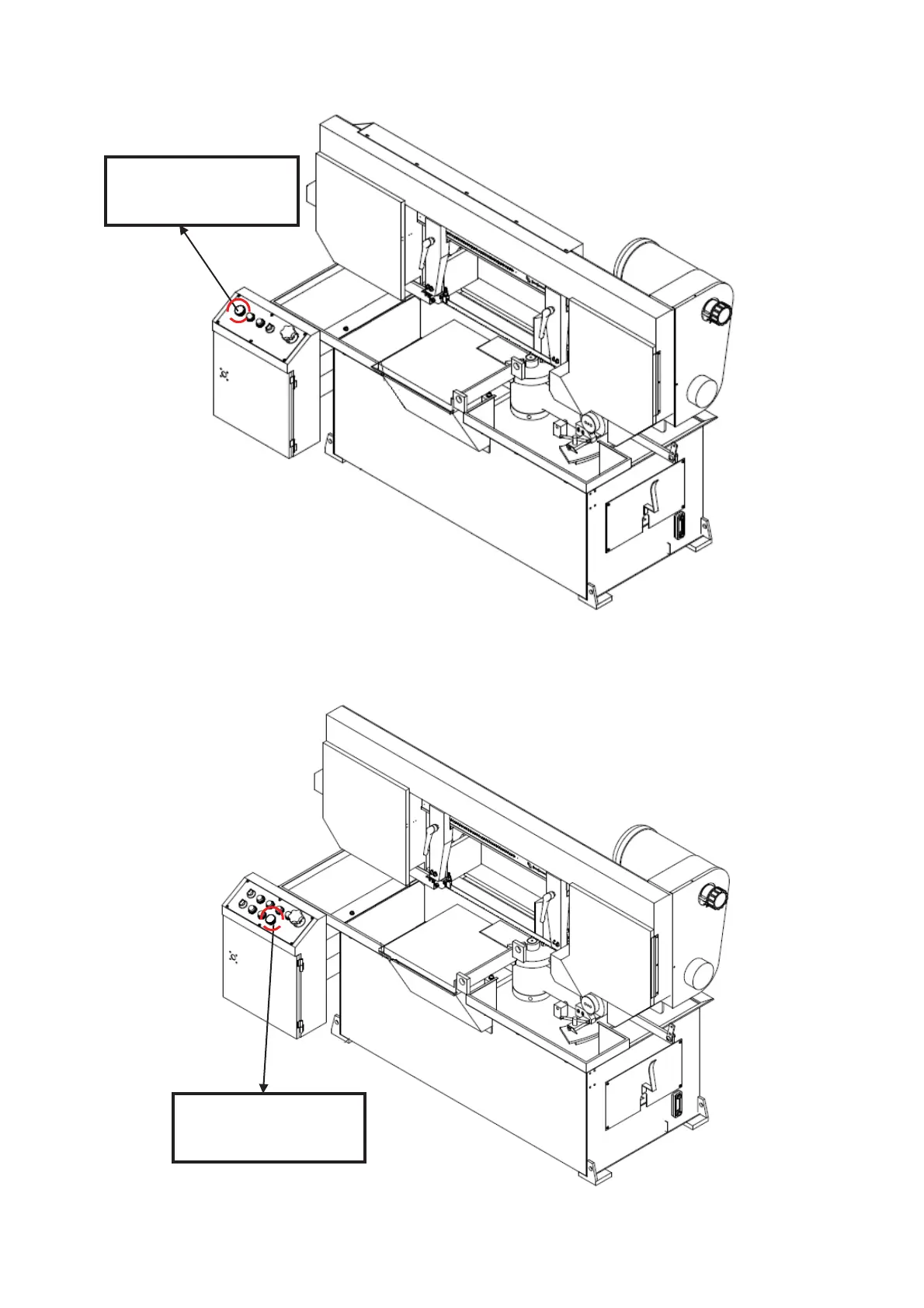
CLAUSING MS1318M - Emergency Stop; Illustration: Emergency Stop

CLAUSING MS1318M
134 pages
Print Icon
To Next Page IconTo Next Page
To Next Page IconTo Next Page
To Previous Page IconTo Previous Page
To Previous Page IconTo Previous Page
Loading...
MS1318M / MS1318SA
1-5!
Illustration: Emergency Stop
!
MS1318M
!
!
MS1318SA
Emergency Stop
Emergency Stop
MS1318M / MS1318SA

Table of Contents