EasyManua.ls Logo

Constellation ARIA - Se Fra Venstre;Højre Side

Constellation ARIA
120 pages
Print Icon
To Next Page IconTo Next Page
To Next Page IconTo Next Page
To Previous Page IconTo Previous Page
To Previous Page IconTo Previous Page
Loading...
DK
100
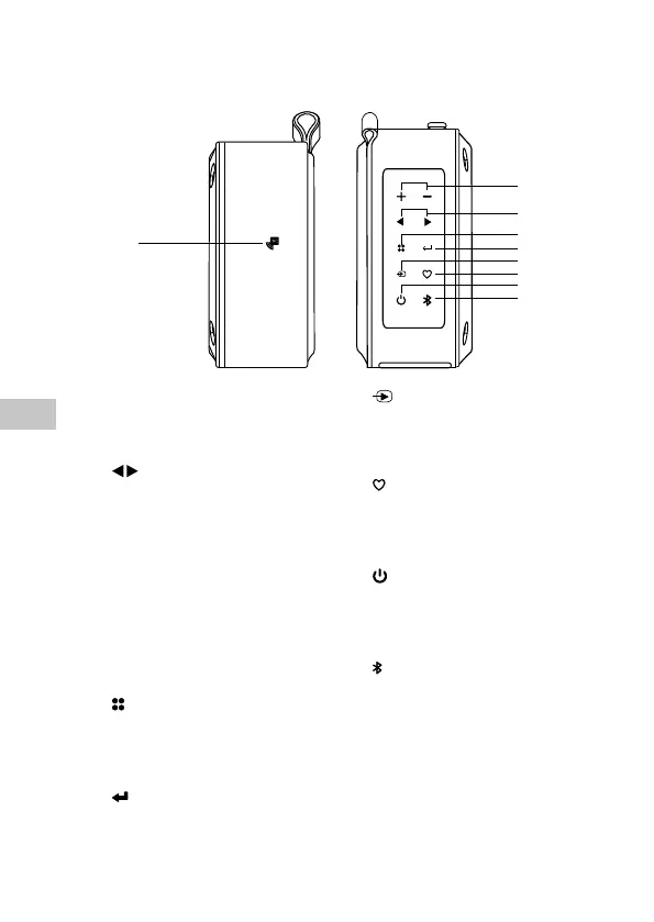
Se fra venstre/højre side
1. NFC-sensor
2. VOLUME +/– -knap
Skruer op og ned for lyden.
3.
-knap
Søger efter en radiokanal,
ved at gå frem/tilbage
gennem de tilgængelige
radiofrekvenser på FM.
Springer frem/tilbage til
næste/forrige nummer, når
Bluetooth bruges.
Tryk opad eller nedad,
for at se punkterne i
brugermenuen.
4.
-knap
Tryk for at se oplysningerne.
Holdes nede for at åbne
systemmenuen.
5.
-knap
Trykkes for at bekræfte et valg.
1
2
3
4
6
8
5
7
9
6. -knap
Skifter mellem DAB, FM,
Bluetooth og Hjælpe indg.e.
funktionerne.
7.
-knap
Forudindstiller en radiokanal.
Vælger en forudindstillet
radiokanal.
8.
-knap
Holdes nede, for at tænde og
slukke for enheden.
Trykkes for at slå lyden til og fra.
9.
-knap
Trykkes for at pause/genoptage
afspilningen på Bluetooth.
Holdes nede for at aktivere
parringsfunktionen på
Bluetooth-funktionen,
eller afbryd den forbundne
Bluetooth-enhed.

Table of Contents