EasyManua.ls Logo

Coolmay CX3G - Page 57

Coolmay CX3G
70 pages
Print Icon
To Next Page IconTo Next Page
To Next Page IconTo Next Page
To Previous Page IconTo Previous Page
To Previous Page IconTo Previous Page
Loading...
CX3G/FX3GC PLC Programming manual
www.coolmayplc.com
55
No. 06: Load the specific binary value into a retentive register (write register) with a
range of one.
No. 16: Preset multiple registers, load specific binary values into a series of
consecutive retentive registers (write multiple registers),
The range is 1-32.
For 26231 below version The RD3A and WR3A must be triggered with a rising edge.
For 26231 and above,it can be triggered by the normal signal.
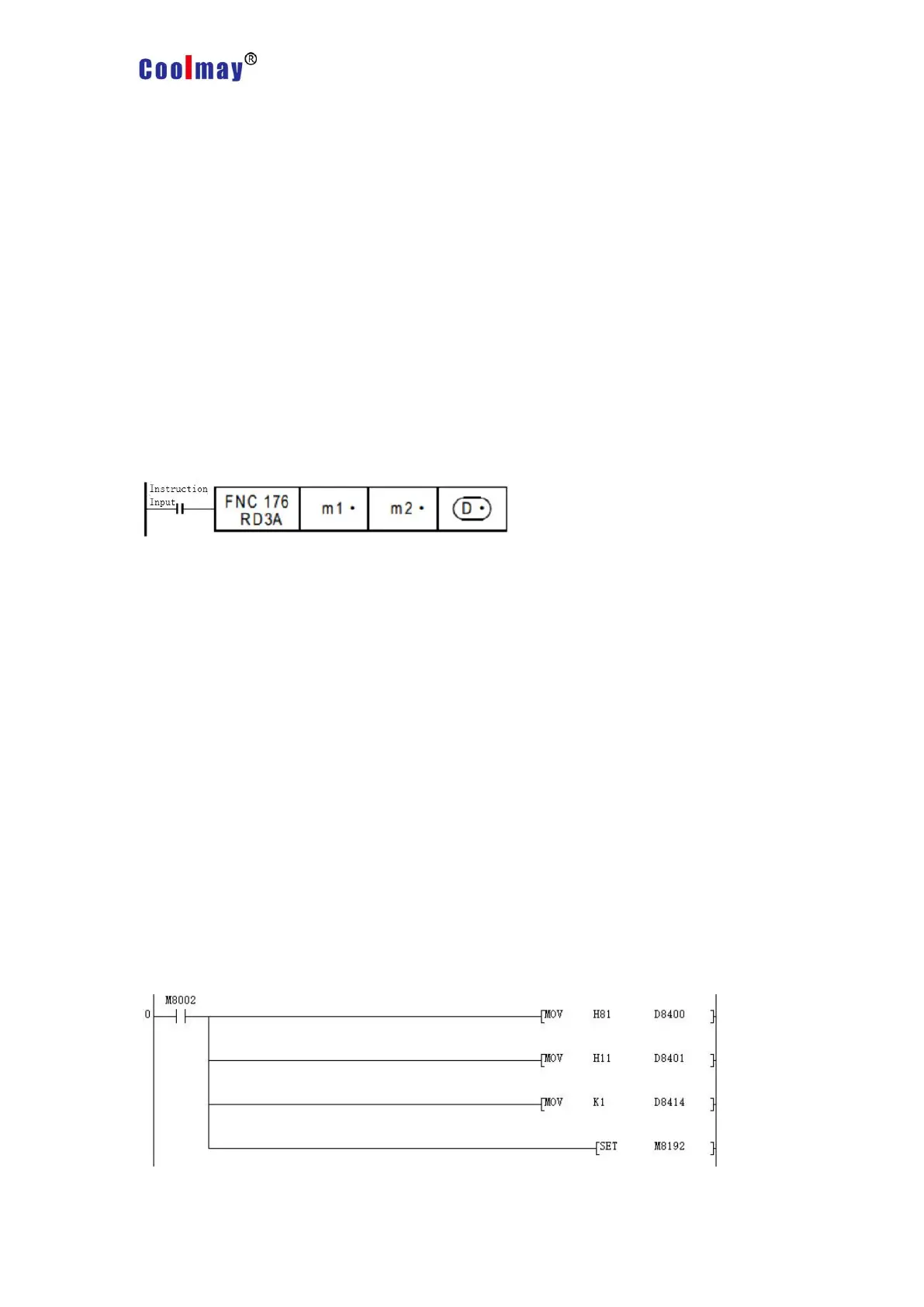
Read slave data instruction function and action description:
RD3A originally referred to the analog module readout.
For CoolMay PLC, the RD3A instruction corresponds to Modbus's No. 03 function.
In the instruction,
m1 represents the station number of the read slave device,range:1-247;
m2 represents the first address number of the read data in the slave device;
D represents the number of registers read, range: 1-32, and the read data is
sequentially stored in the host D.+1, D.+2.
D-1 address value must be set to 0. (=0: serial port 2; =1: serial port 3; =2: CAN)
Program Example:
Slave program

Related product manuals