EasyManua.ls Logo

Crane BARNES SITHE 3SCM - SC - CROSS-SECTIONS, (Fig. 9) & EXPLODED VIEWS, (Fig. 10)

Crane BARNES SITHE 3SCM
33 pages
Print Icon
To Next Page IconTo Next Page
To Next Page IconTo Next Page
To Previous Page IconTo Previous Page
To Previous Page IconTo Previous Page
Loading...
17
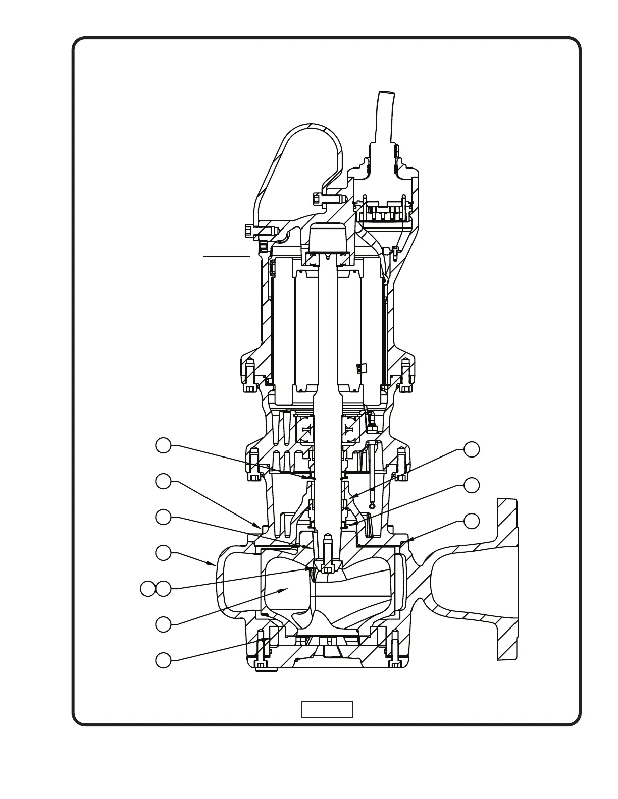
SC Pump Series - Cross Section
4
5
9
3
2
7
11
8
6
10
8A
OIL FILL
FIGURE 9

Related product manuals