EasyManua.ls Logo

Crestron 3 Series - Page 22

Crestron 3 Series
48 pages
Print Icon
To Next Page IconTo Next Page
To Next Page IconTo Next Page
To Previous Page IconTo Previous Page
To Previous Page IconTo Previous Page
Loading...
3-Series Control System™ Crestron MC3
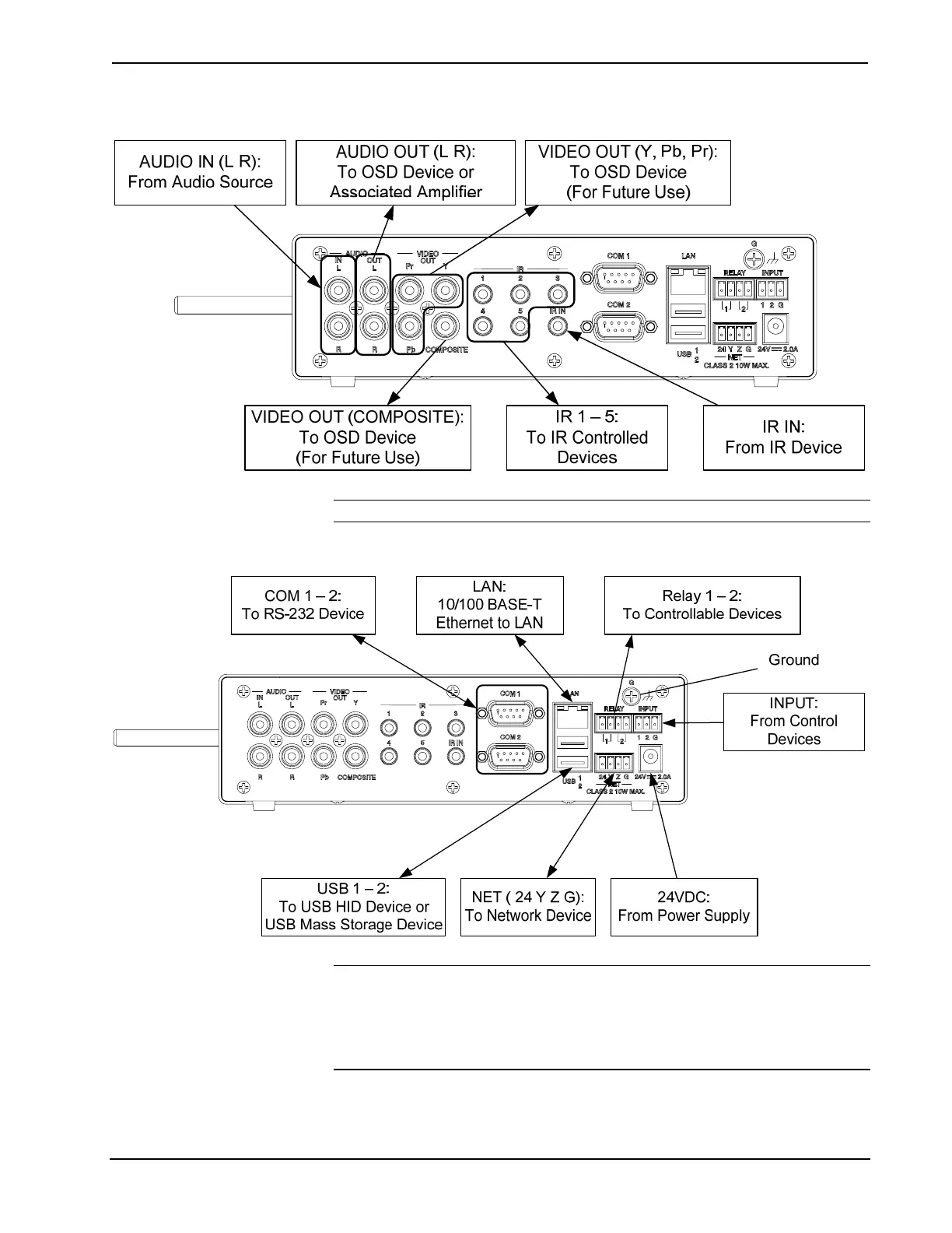
Hardware Connections for the MC3 (Rear View – Audio, Video and IR Connections)
NOTE: Video is routed to the output selected in the program loaded on the MC3.
Hardware Connections for the MC3 (Rear View – COM, LAN, Relay, Ground, Input, Power, NET and USB Connections)
NOTE: Ensure the unit is properly grounded by connecting the chassis ground lug
to an earth ground (building steel).
NOTE: To prevent overheating, do not operate this product in an area that exceeds
the environmental temperature range listed in the table of specifications.
16 3-Series Control System™: MC3 Operations Guide – DOC. 7095D

Other manuals for Crestron 3 Series

Related product manuals