EasyManua.ls Logo

Cub Cadet 2146 - Fuel Pump

Cub Cadet 2146
48 pages
Print Icon
To Next Page IconTo Next Page
To Next Page IconTo Next Page
To Previous Page IconTo Previous Page
To Previous Page IconTo Previous Page
Loading...
-30-
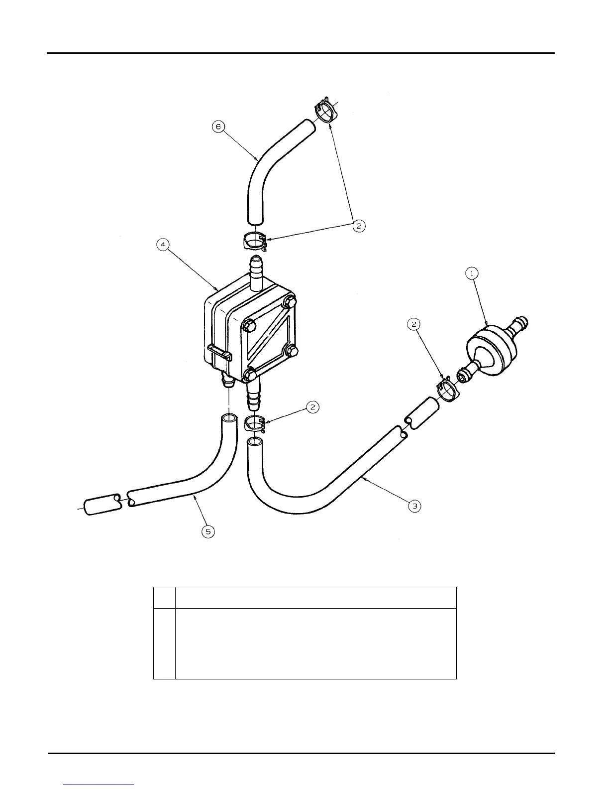
FUEL PUMP
REF.
NO.
PART
NUMBER DESCRIPTION QTY.
1 ME-149-2356 Filter, Fuel 1
2 ME-503-0731 Clamp, Hose 4
3 ME-503-1418 Hose, Bulk Fuel (1/4 x 230mm) 1
4 ME-149-2387 Pump, Fuel 1
5 ME-503-1418 Hose, Bulk Fuel, Pulse Line, 1/4 x 116mm 1
6 ME-503-1418 Hose, Bulk Fuel, Outlet, 1/4 x 54mm 1

Other manuals for Cub Cadet 2146

Related product manuals