EasyManua.ls Logo

Cutler-Hammer Digitrip OPTIM 550 - 3-2.6 Instantaneous Protection

Cutler-Hammer Digitrip OPTIM 550
66 pages
Print Icon
To Next Page IconTo Next Page
To Next Page IconTo Next Page
To Previous Page IconTo Previous Page
To Previous Page IconTo Previous Page
Loading...
I.B. 29C891B
Page 30
Effective 11/98
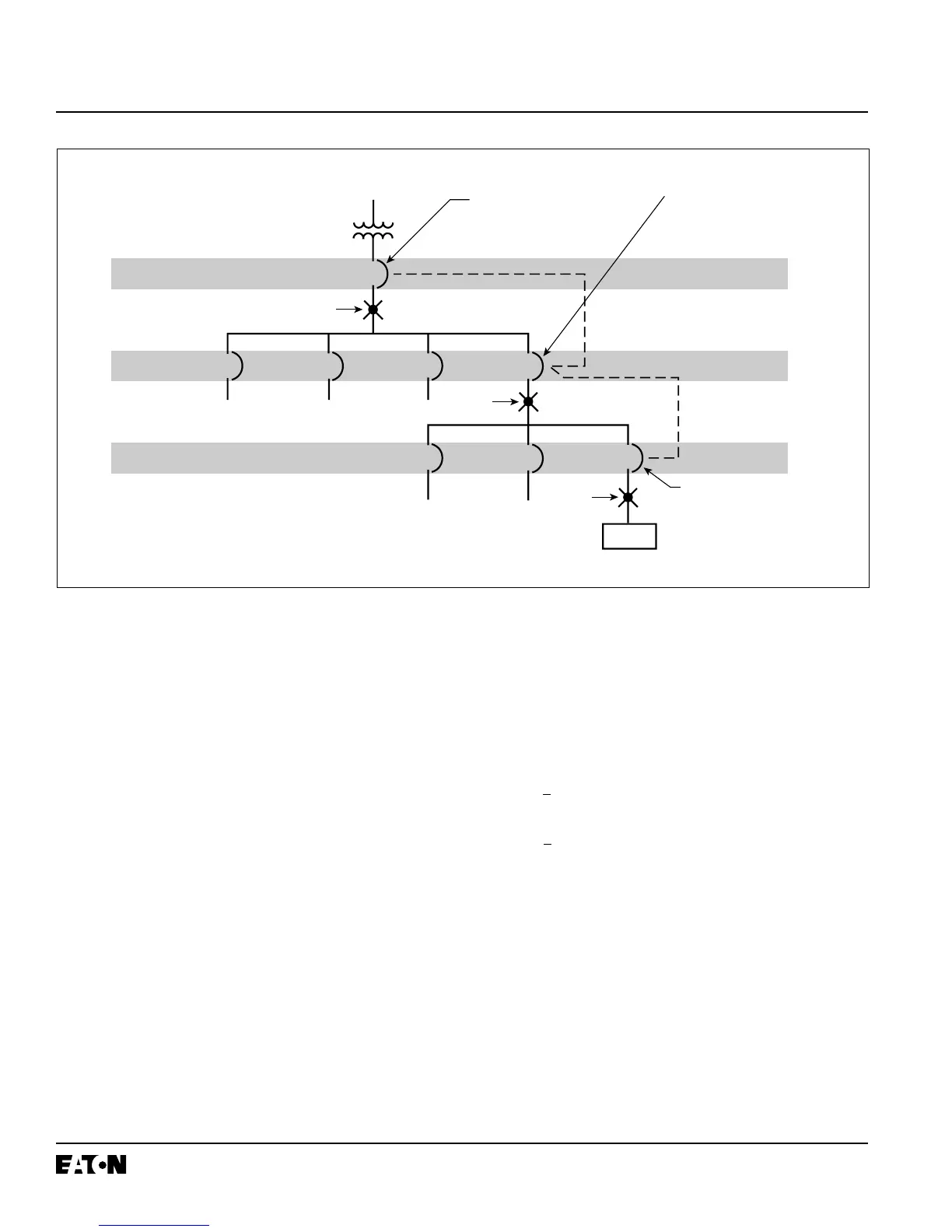
nation times are reached. Thus zone selective interlock-
ing applied correctly can reduce damage due to short
circuit or ground fault conditions.
Refer to the wiring diagrams presented in Table A.1 of
Appendix A for specific connection schemes. For more
detailed application information, contact Cutler-Hammer.
3-2.6 INSTANTANEOUS PROTECTION
Instantaneous protection is selectable with all Digitrip
OPTIM Trip Units. It can be selected in combination with
short delay protection or without short delay protection.
One or the other (instantaneous or short) must always
be selected (Tables 3.2 and 3.3 and Figure 3-4).
Instantaneous protection is provided via:
Instantaneous Pickup
Two additional functions are available to trip the circuit
breaker with no intentional delay under high short circuit
conditions:
Discriminator
Instantaneous Override
Instantaneous Pickup
The instantaneous pickup setting establishes the current
level at which the trip units instantaneous tripping function
will trip the circuit breaker with no intentional time delay. It
is programmable as a multiple of the plug rating value (I
n
).
The programmable range depends on the circuit breaker
type as follows:
Series C K, L and N-Frames
- 2.0 to 8.0 times (I
n
) in 0.1 increments
Series C R-Frame
- 2.0 to 10.0 times (I
n
) in 0.1 increments
(1600/2000 ampere frames)
- 2.0 to 6.0 times (I
n
) in 0.1 increments
(2500 ampere frame)
SPB Systems Pow-R
- 2.0 to 10.0 times (I
n
) in 0.1 increments
(400-3000 ampere frames)
- 2.0 to 6.0 times (I
n
) in 0.1 increments
(4000/5000 ampere frames)
DSII/DSLII
- 2.0 to 12.0 times (I
n
) in 0.1 increments
Load
Breaker
Number 3
Breaker
Number 2
Breaker
Number 1
Zone 1
Zone 2
Zone 3
Zone Interlock Wiring
Ground Fault Setting:
1200A Pickup
0.5 Secs. Time Delay
Ground Fault Setting:
600A Pickup
0.3 Secs. Time Delay
Ground Fault Setting:
300A Pickup
No Time Delay
Fault 2
Fault 3
Fault 1
Figure 3-12 Multi-layer Ground Fault Protection Scheme Using Zone Selective Interlocking

Table of Contents

Other manuals for Cutler-Hammer Digitrip OPTIM 550