EasyManua.ls Logo

Daewoo DB58 - 1.5.3. Injection Nozzle Service

Daewoo DB58
126 pages
Print Icon
To Next Page IconTo Next Page
To Next Page IconTo Next Page
To Previous Page IconTo Previous Page
To Previous Page IconTo Previous Page
Loading...
- 20 -
<Assembly>
1) Lightly oil at the O-ring part.
2) Inject fuel to the new fileter to be easily
discharged an air.
3) Additionally tighten 2/3 of a turn with a
wrench until O-ring contact against the
block.
Means Replacement of Filter.
1) Release the plug (1) a fixed height.
2) Separate cartirage (2) from head (3) with the
tools.
3) Fill up clean fuel to the new cartirage.
4) Replace the rubber packing (4) which is
centered at the head.
5) Smear clean fuel to the rubber packing (5)
which is a cartirage.
6) Turn cartirage until packing is getting to
head.
7) Farther make a round 1/3~1/2 with manual
when packing get to head.
8) Remove an air in the filter with a feed pump
which is in the injection pump.
9) When flow out a foamless fuel without
interruption, then tighten plug and check a
leakage as setting start.
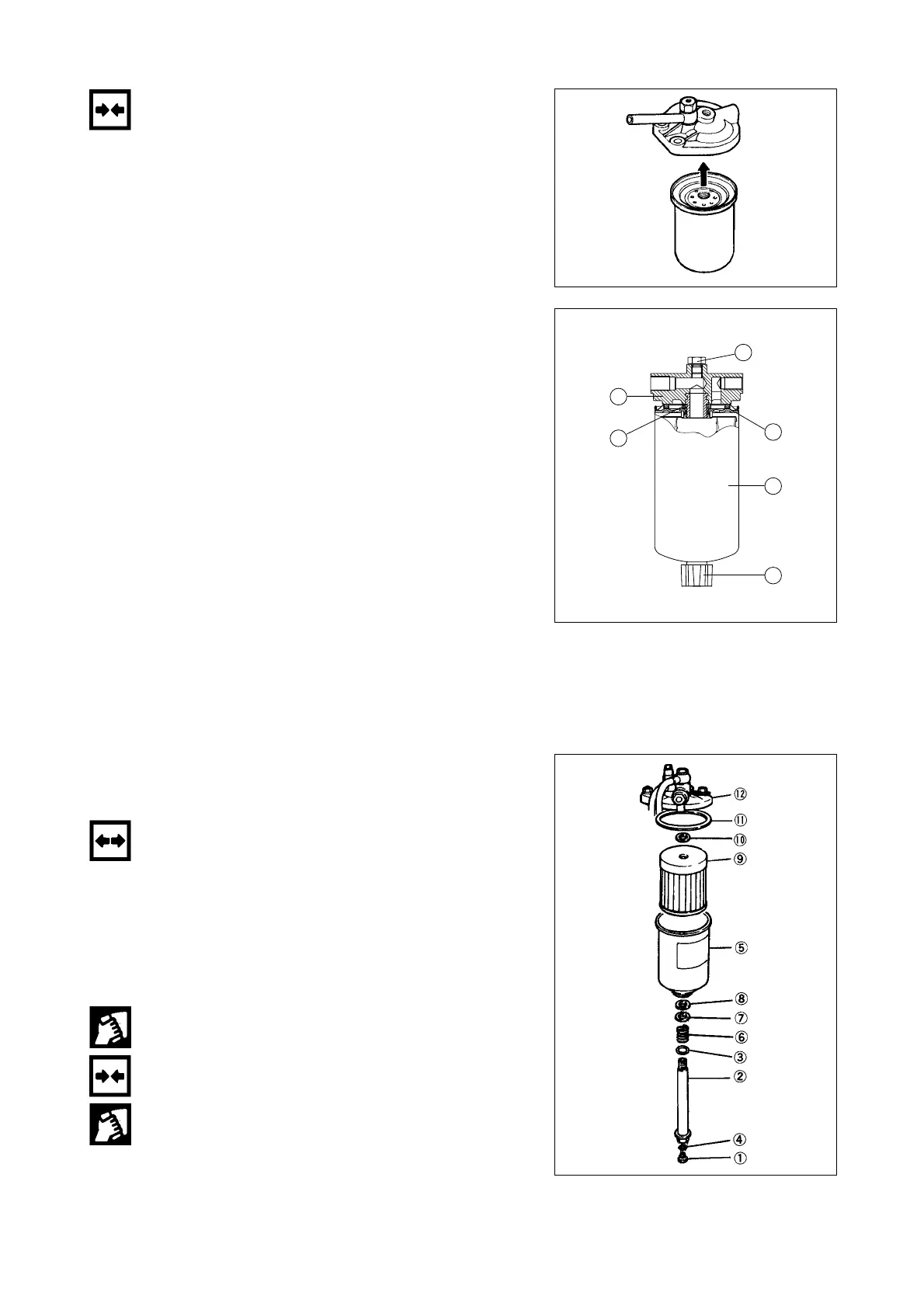
Center Bolt Type
<Removal>
1) Loosen the drain plug to drain thd fuel
from the fuel filter.
2) Loosen the center bolt to remove the filter
body , the spring , the washer , the
gas ket , and the filter element .
3) Discard the used element.
<Installation>
1) Wash the filter body and the other parts
immersing them into clean diesel oil.
2) Reassemble the parts in reverse oreder. Use
the new element.
3) Check that the gaskets are properly seated.
This will prevent fuel leakage.
EJM1021S
1
5
2
3
4
6
EJM1022I
EJM1020S

Related product manuals