EasyManua.ls Logo

Daikin Super multi NX E Series - Page 197

Daikin Super multi NX E Series
302 pages
Print Icon
To Next Page IconTo Next Page
To Next Page IconTo Next Page
To Previous Page IconTo Previous Page
To Previous Page IconTo Previous Page
Loading...
SiBE121135_A Troubleshooting for SA Indoor Unit
Service Diagnosis 186
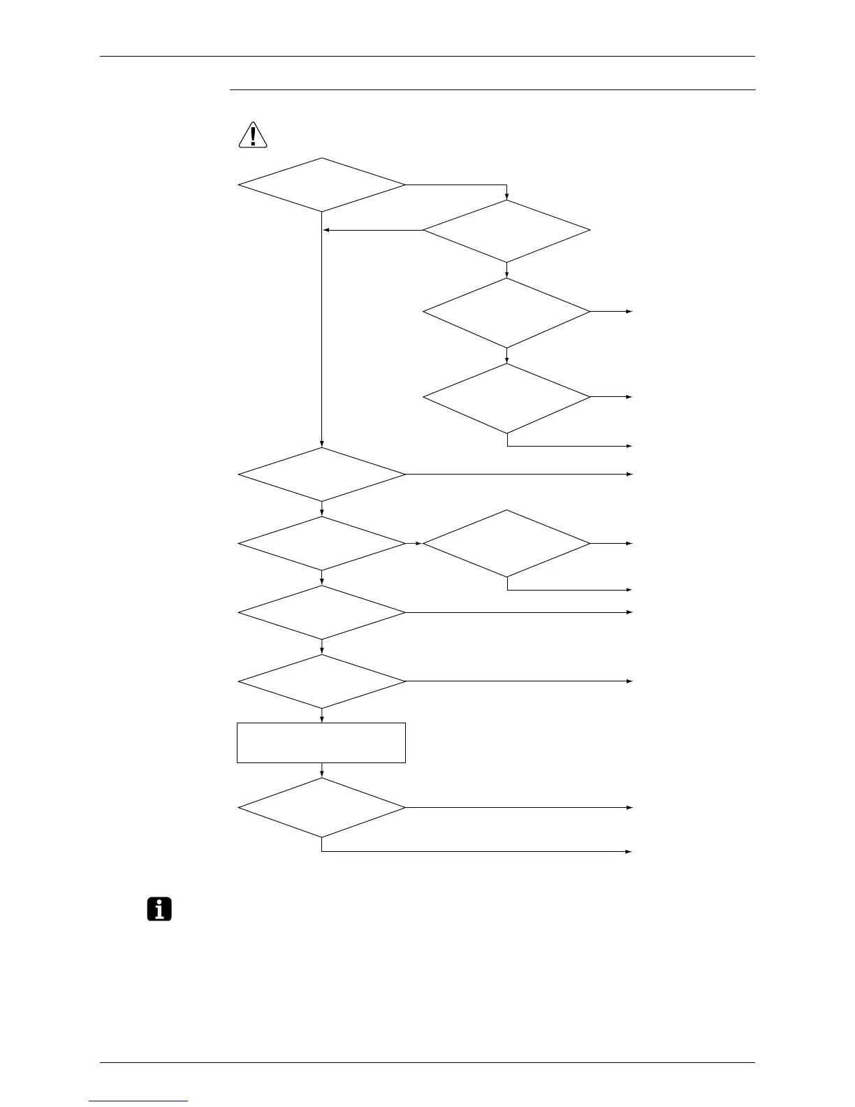
Troubleshooting
Note: If A3 is detected by the indoor unit PCB which is not mounted with X15A, the indoor unit PCB is
defective.
Caution
Be sure to turn off the power switch before connecting or disconnecting
connectors, or parts may be damaged.
Connect the drain pump.
Replace the indoor unit
PCB.
Replace the drain pump.
There is a drain system
abnormality.
Connect the float switch.
Replace the float switch.
Replace the indoor unit
PCB.
(R18058)
NO
YES
NO
YES
NO
Connect the short circuit
connector.
NO
Connect the short circuit
connector.
NO
YES
YES
Replace the indoor unit
PCB.
YES
NO
YES
Is the drain
pump connected to the
indoor unit PCB?
Is the unit a
ceiling suspended (FHQ)
type?
NO
YES
NO
Is the drain water level
abnormally high?
YES
YES
Is the float switch
connected to X15A?
NO
Does
the drain pump work after
restarting operation?
Set to
"emergency" and
check the voltage of X25A.
220 - 240 VAC?
YES
Remove the float switch from
X15A, short circuit X15A, and
restart operation.
NO
Does
A3
appear on the remote
controller display?
Is the short
circuit connector
connected to X15A on the
indoor unit
PCB?
Check the
continuity of the short circuit
connector. Is there
continuity?
Is the optional
drain raising mechanism
connected?

Table of Contents

Related product manuals