EasyManua.ls Logo

Danfoss 087H3803 - Page 4

Danfoss 087H3803
20 pages
Print Icon
To Next Page IconTo Next Page
To Next Page IconTo Next Page
To Previous Page IconTo Previous Page
To Previous Page IconTo Previous Page
Loading...
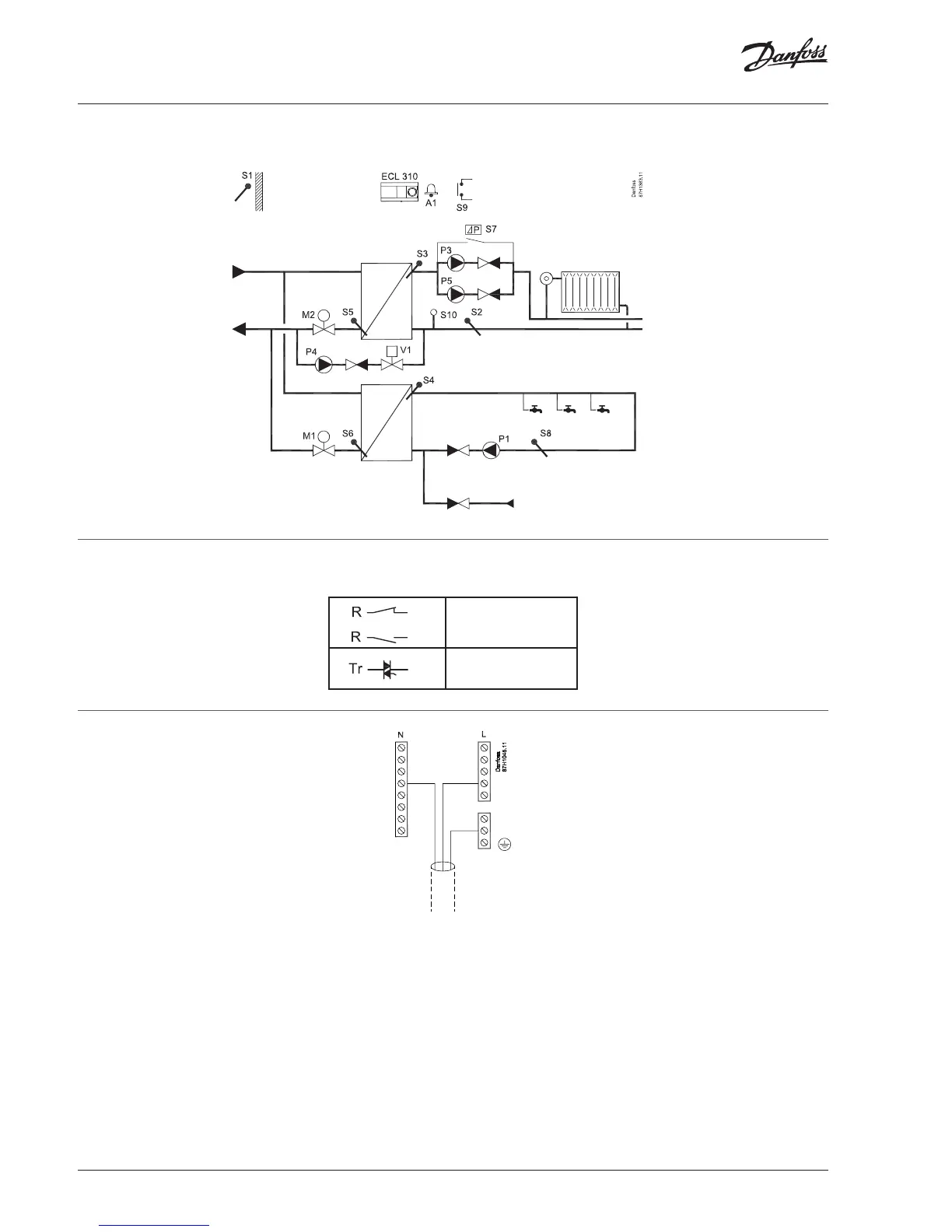
A368.6, ex. a:
ECL Comfort 310:
230 V a.c.
4 (2) A / 230 V a.c.
0,2 A / 230 V a.c.
Installation Guide, ECL Comfort 310, A368
4 | © Danfoss | 2018.07
VI.LG.K5.00

Other manuals for Danfoss 087H3803

Related product manuals