EasyManua.ls Logo

Danfoss TP9 - Page 59

Danfoss TP9
96 pages
Print Icon
To Next Page IconTo Next Page
To Next Page IconTo Next Page
To Previous Page IconTo Previous Page
To Previous Page IconTo Previous Page
Loading...
59
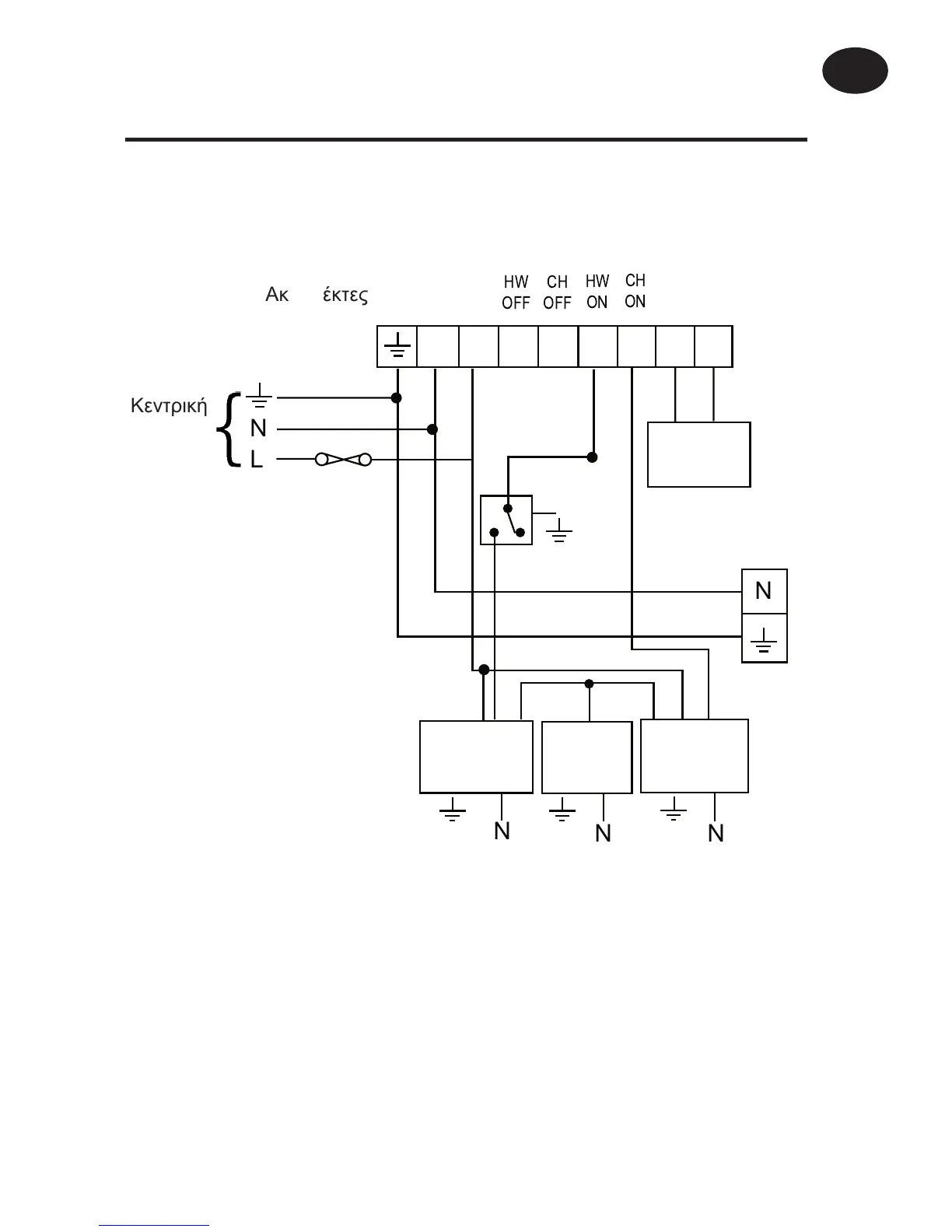
Ôõðéêü óýóôçìá åî ïëïêëÞñïõ ìå êõêëïöïñçôÞò
ìå âáëâßäá áíôåðéóôñïöÞò óå êÜèå ðáñï÷Þ
TP9 (Äéáêüðôçò 1 óôç èÝóç PUMPED)
Άëëá ðñïúüíôá Danfoss Randall êáôÜëëçëá ãéá ÷ñÞóç ìå ôï
ðáñáðÜíù êýêëùìá åëÝã÷ïõ:-
ÈåñìïóôÜôçò êõëßíäñïõ AT.
2 x çëåêôñïâÜíåò áõôïíïìßáò HP22 Þ HP28 ìå äéÜôáîç
åíåñãïðïßçóçò åðáíáöïñÜò ìå åëáôÞñéï êáé âïçèçôéêü äéáêüðôç
SPST.
N L 1 2 3 4 5 6
HW
OFF
HW
ON
CH
OFF
CH
ON
Terminals
Remote
Sensor
N
N
L
3 amp
fuse
Looping
Terminals
Mains
Supply
Cyl. Stat
Boiler &
Pump
S.R.Z.V
in HW
N
N
N
S.R.Z.V
in CH
ÁêñïäÝêôåò
ÊåíôñéêÞ
ðáñï÷Þ
3 áìðåñ
áóöÜëåéá
Ôçëå-
áéóèçôÞñáò
ÔåñìáôéêÜ
ïõäÝôåñïõ &
ãåßùóçò
ÈåñìïóôÜôçò
Äéïäç âÜíá
èÝñìáóíçò
Äßïäç âÜíá
æåóôïý
íåñïý
ËÝâçôáò &
êõêëïöïñçôÞò
Ïäçãßåò åãêáôÜóôáóçò
GR

Other manuals for Danfoss TP9

Related product manuals