EasyManua.ls Logo

Danfoss TP9 - Page 58

Danfoss TP9
96 pages
Print Icon
To Next Page IconTo Next Page
To Next Page IconTo Next Page
To Previous Page IconTo Previous Page
To Previous Page IconTo Previous Page
Loading...
58
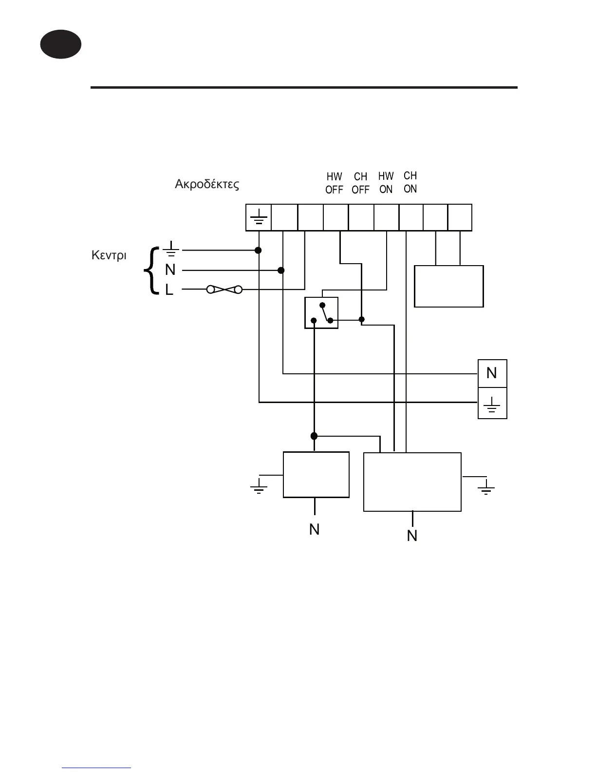
Ôõðéêü óýóôçìá åî ïëïêëÞñïõ ìå êõêëïöïñçôÞò
ìå ôñßïäï âáëâßäá
TP9 (Äéáêüðôçò 1 óôç èÝóç PUMPED)
Άëëá ðñïúüíôá Danfoss Randall êáôÜëëçëá ãéá ÷ñÞóç ìå ôï
ðáñáðÜíù êýêëùìá åëÝã÷ïõ:-
ÈåñìïóôÜôçò êõëßíäñïõ AT.
Ôñßïäïò âÜíá HS3 ìå äéÜôáîç åíåñãïðïßçóçò åðáíáöïñÜò ìå
åëáôÞñéï.
N L 1 2 3 4 5 6
HW
OFF
HW
ON
CH
OFF
CH
ON
Terminals
Remote
Sensor
N
N
L
3 amp
fuse
Looping
Terminals
Mains
Supply
Cyl. Stat
Boiler &
Pump
3 port mid-
position
valve
N
N
ÁêñïäÝêôåò
ÊåíôñéêÞ
ðáñï÷Þ
3 áìðåñ
áóöÜëåéá
Ôçëå-
áéóèçôÞñáò
ÔåñìáôéêÜ
ïõäÝôåñïõ &
ãåßùóçò
ÈåñìïóôÜôçò
Äßïäç âÜíá
æåóôïý íåñïý
ËÝâçôáò &
êõêëïöïñçôÞò
Ïäçãßåò åãêáôÜóôáóçò
GR

Other manuals for Danfoss TP9

Related product manuals