EasyManua.ls Logo

dataTaker DT80 - Installation; Dimensions; Operating Environment

dataTaker DT80
417 pages
Print Icon
To Next Page IconTo Next Page
To Next Page IconTo Next Page
To Previous Page IconTo Previous Page
To Previous Page IconTo Previous Page
Loading...
UM-0085-B09 DT80 Range User Manual Page 285
RG
Installation
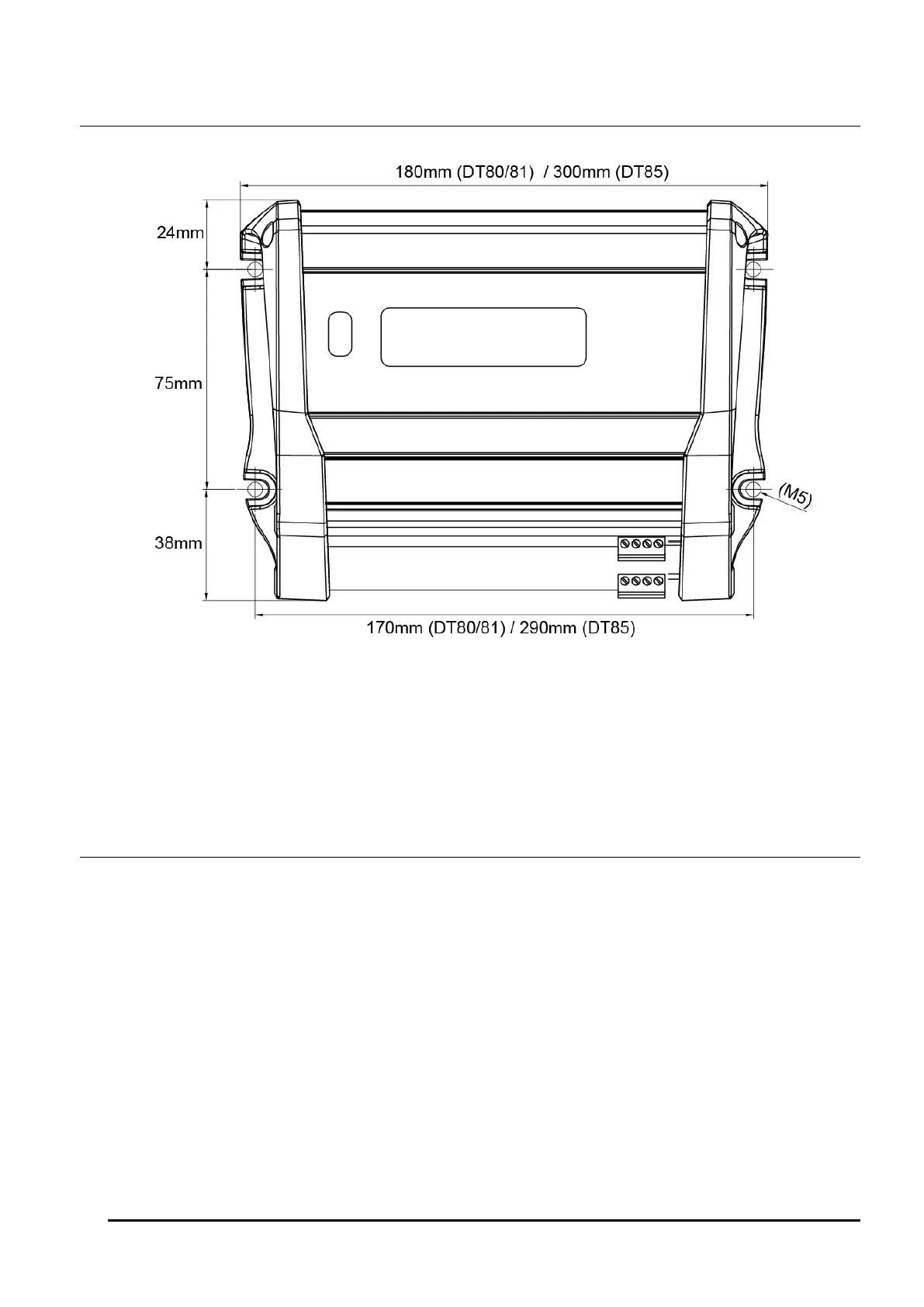
Dimensions
Figure 117: Mounting hole positions and overall dimensions
DT80/82 overall dimensions (L x W x H): 180mm x 137mm x 65mm
DT85 overall dimensions: 300mm x 137mm x 65mm
CEM20 overall dimensions: 180mm x 100mm x 50mm. Note that CEM20 mounting hole centres are the same
as for the DT80/82.
Mounting screw size: M5
Some clearance for communications/power cabling will be required on the left hand side of the unit, and at the
front for sensor wiring. DT8xM models require access on the right hand side for the antenna connection.
Logger should be oriented either in table top configuration (keypad/display facing up), or wall mounted
(terminals facing down). Do not wall mount with terminals facing upwards.
Operating Environment
The DT80 is an electronic instrument. Electronics and water in any form do not mix. Condensation can be a serious
problem in the tropics, and in cooler areas where wide temperature variations are possible. Use a sealed case and
include sachets of silica gel to avoid problems.
If the DT80 gets wet, immediately disconnect and remove all power sources (including the main internal battery), and dry
the DT80 in a warm place. If the unit comes into contact with salt water, rinse it thoroughly in fresh water, then in distilled
water, then dry it salt must NOT be allowed to remain on the circuit boards.
The DT80 operates over a wide temperature range (40°C to +70°C), but its accuracy can be reduced at extremes. Try
to minimize the DT80’s exposure to temperature extremes.
The capacity and service life of the lead acid battery in the logger will be significantly reduced if it is operated outside the
range -15°C to +50°C. Furthermore, if the battery is subject to regular charge/discharge cycles then the recommended
temperature range is +5°C to +35°C. When operating outside these ranges consideration must be given to an alternative
power source for the logger.
The LCD display is typically only usable over a temperature range of 0°C to +50°C.
Warning: In installations where the temperature may exceed 60 degrees C, the unit must be installed in a restricted access location and
the heat warning label placed on the product

Table of Contents

Other manuals for dataTaker DT80

Related product manuals