EasyManua.ls Logo

Dell 5100MP - Rca - Rca ケーブルを使った DVD プレーヤへの接続; S-Video ケーブルを使った DVD プレーヤへの接続

Dell 5100MP
378 pages
Print Icon
To Next Page IconTo Next Page
To Next Page IconTo Next Page
To Previous Page IconTo Previous Page
To Previous Page IconTo Previous Page
Loading...
プロジェクタの接続 13
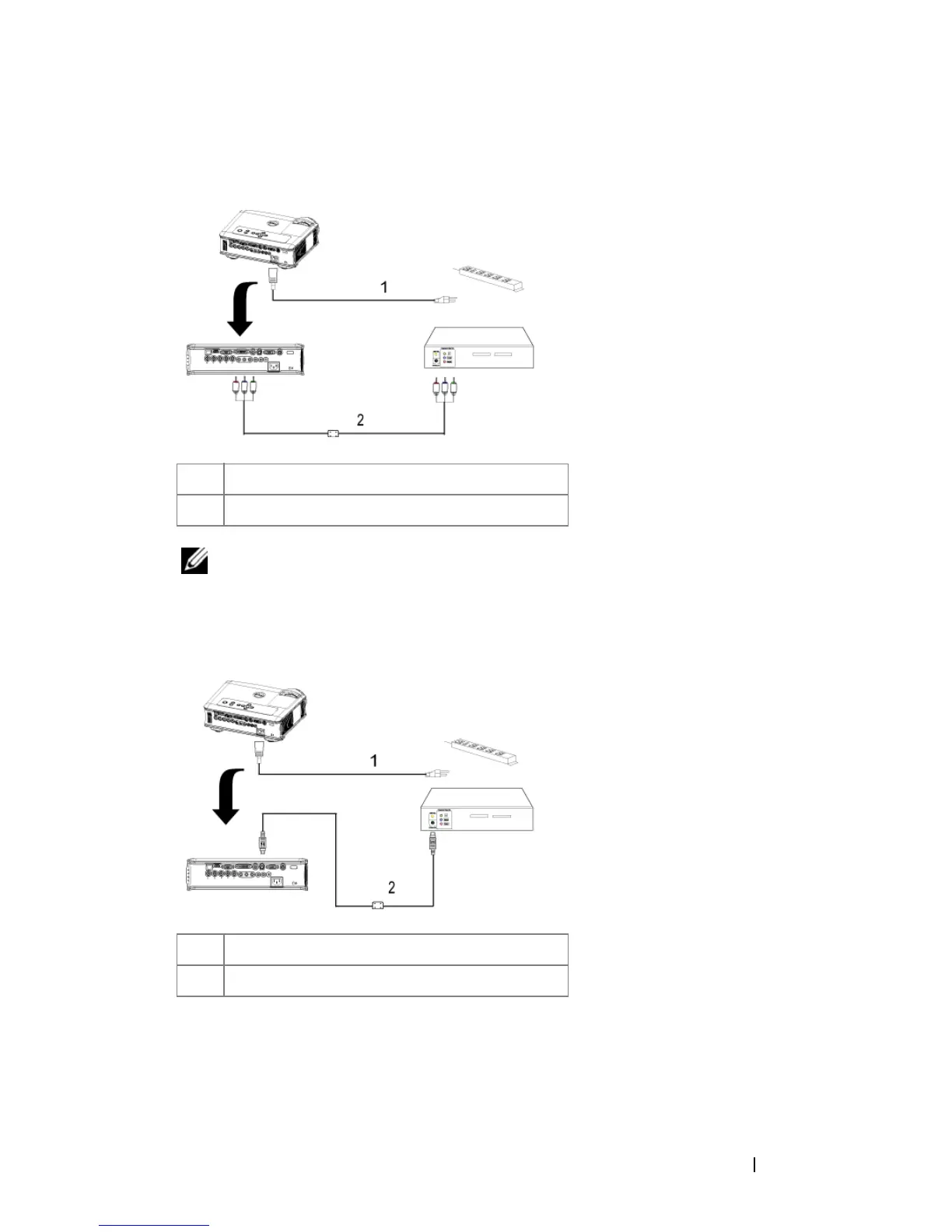
RCA - RCA ケーブルを使った DVD プレーヤへの接続
メモ:RCA RCA ケーブルはデルからは提供されていません。ケーブ
ルについてはインストール専門業者にお問い合わせください。
S-Video ケーブルを使った DVD プレーヤへの接続
1
電源コード
2
RCA - RCA コンポーネントケーブル
1
電源コード
2
S-Video ケーブル

Table of Contents

Other manuals for Dell 5100MP

Related product manuals