EasyManua.ls Logo

Dell 5100MP - Connecting a DVD Player with a RCA to RCA Cable; Connecting a DVD Player with an S-Video Cable

Dell 5100MP
378 pages
Print Icon
To Next Page IconTo Next Page
To Next Page IconTo Next Page
To Previous Page IconTo Previous Page
To Previous Page IconTo Previous Page
Loading...
Connecting Your Projector 13
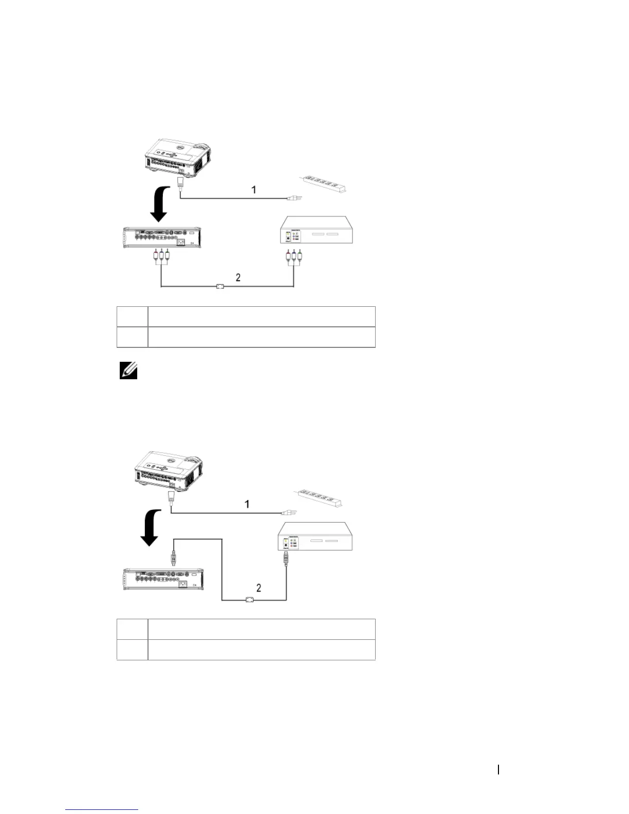
Connecting a DVD Player with a RCA to RCA Cable
NOTE: The RCA to RCA cable is not provided by Dell. Consult a professional
installer for the cable.
Connecting a DVD Player with an S-video Cable
1Power cord
2 RCA to RCA component cable
1Power cord
2 S-video cable

Table of Contents

Related product manuals