EasyManua.ls Logo

Delta VFD25AMS43AFSHA

Delta VFD25AMS43AFSHA
445 pages
To Next Page IconTo Next Page
To Next Page IconTo Next Page
To Previous Page IconTo Previous Page
To Previous Page IconTo Previous Page
Loading...
Chapter 4 WiringMS300 (High Speed Model)
4-5
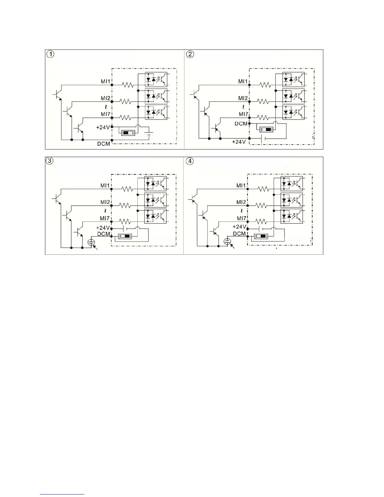
Figure 2
SINK (NPN) / SOURCE (PNP) Mode
Sink Mode
with internal power (+24 VDC)
Source Mode
with internal power (+24 VDC)
internal
circuit
internal
circuit
Sink Mode
with external power
Source Mode
with external power
internal
circuit
internal
circuit
external power +24V external power +24V

Table of Contents

Related product manuals