EasyManua.ls Logo

Denon AVR-2809CI

Denon AVR-2809CI
177 pages
To Next Page IconTo Next Page
To Next Page IconTo Next Page
To Previous Page IconTo Previous Page
To Previous Page IconTo Previous Page
Loading...
92
AVR-2809CI / AVR-2809 / AVR-989 / AVC-2809
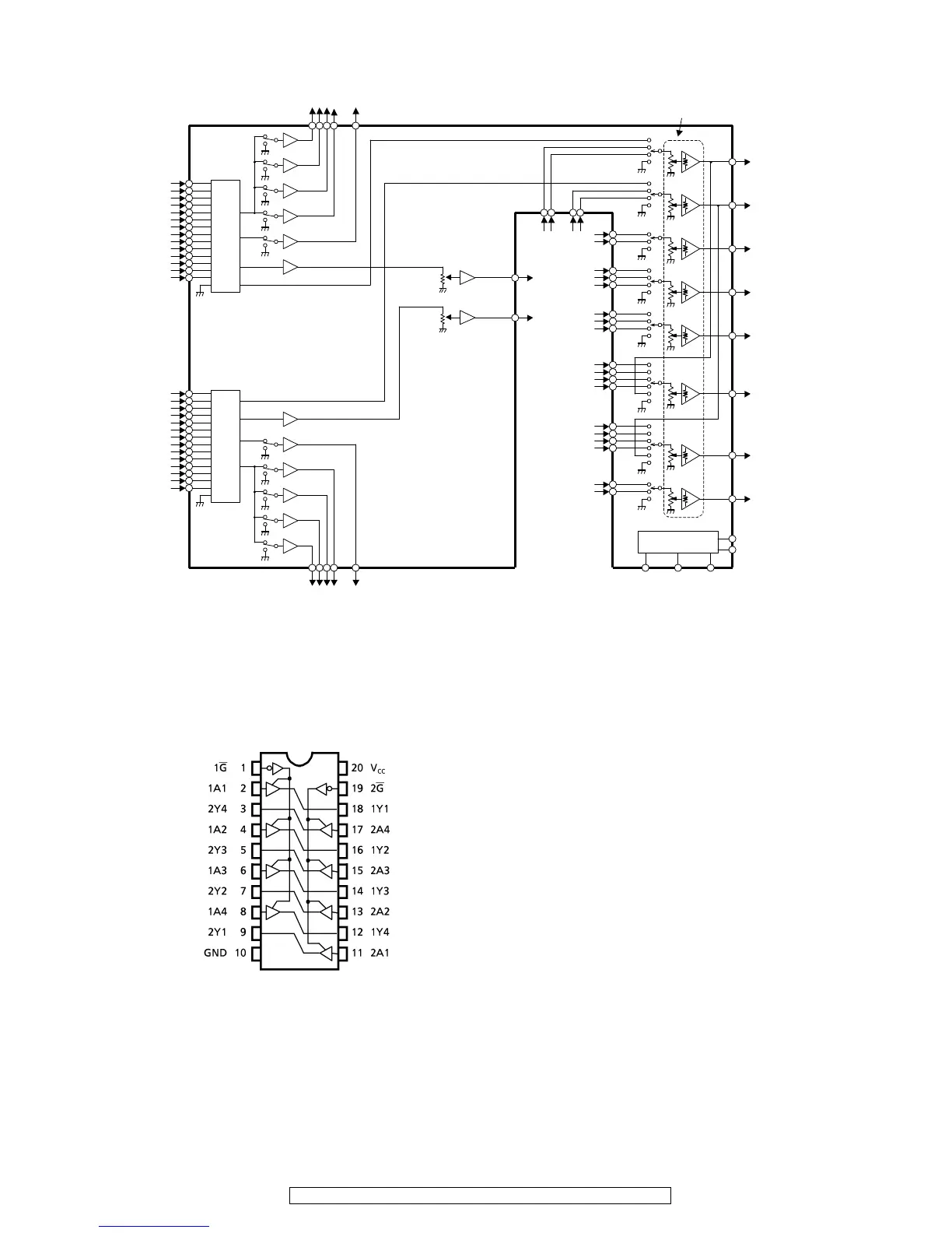
BLOCK DIAGRAM
TC74VHC244FT (DI : IC153)
Input SelectorInput Selector
REC A
REC B
Lout
Rout
Cout
LSout
RSout
LBout
RBout
SWout
Multi-
SWin
Multi-
RBin
Multi-
LBin
Multi-
RSin
Multi-
LSin
Multi-
Cin
Control Logic
Data Clock Latch
Multi-Rin
Multi-Lin
Lout for
ADC
Rout for
ADC
Stereo-
Lin
Stereo-
Rin
Input Selector Gain :
0 / -3 / -6 / -9 / -12dB
/Mute
Main Volume :
+31.5 to -95dB / 0.5dBstep
REC A
REC B
ADR
MUTE

Other manuals for Denon AVR-2809CI

Related product manuals