EasyManua.ls Logo

Denon AVR-X4000 - Troubleshooting Error Messages

Denon AVR-X4000
224 pages
To Next Page IconTo Next Page
To Next Page IconTo Next Page
To Previous Page IconTo Previous Page
To Previous Page IconTo Previous Page
Loading...
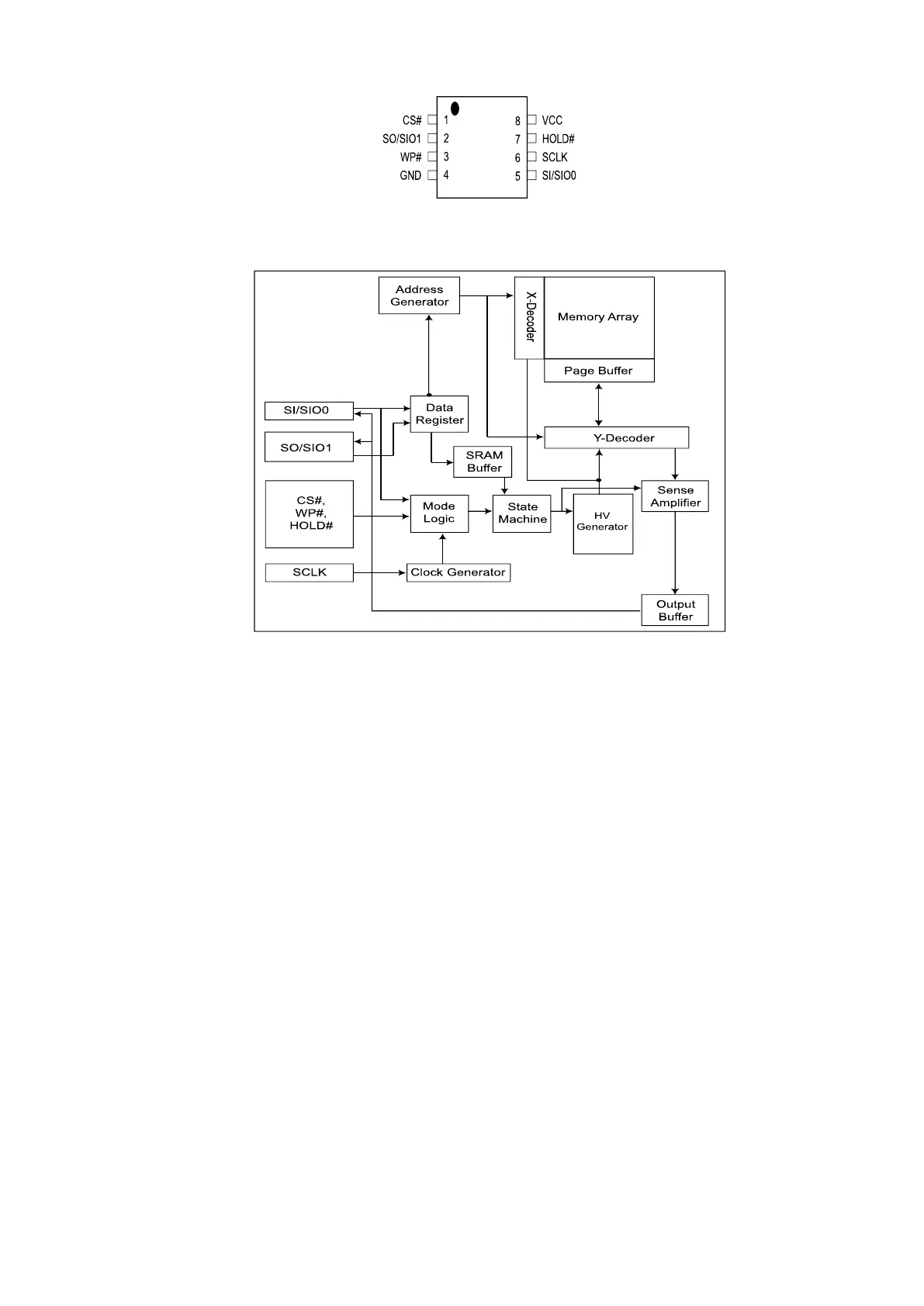
MX25L1606EM2I-12G(DIGITAL:IC410,IC423)
MX25L1606EM2I-12G Block Diagram
8-PIN SOP (200mil, 150mil)
BLOCK DIAGRAM
179

Table of Contents

Other manuals for Denon AVR-X4000

Related product manuals