EasyManua.ls Logo

Detecto 7550 - Operating the Scale; Keypad and Display Interface

Detecto 7550
22 pages
To Next Page IconTo Next Page
To Next Page IconTo Next Page
To Previous Page IconTo Previous Page
To Previous Page IconTo Previous Page
Loading...
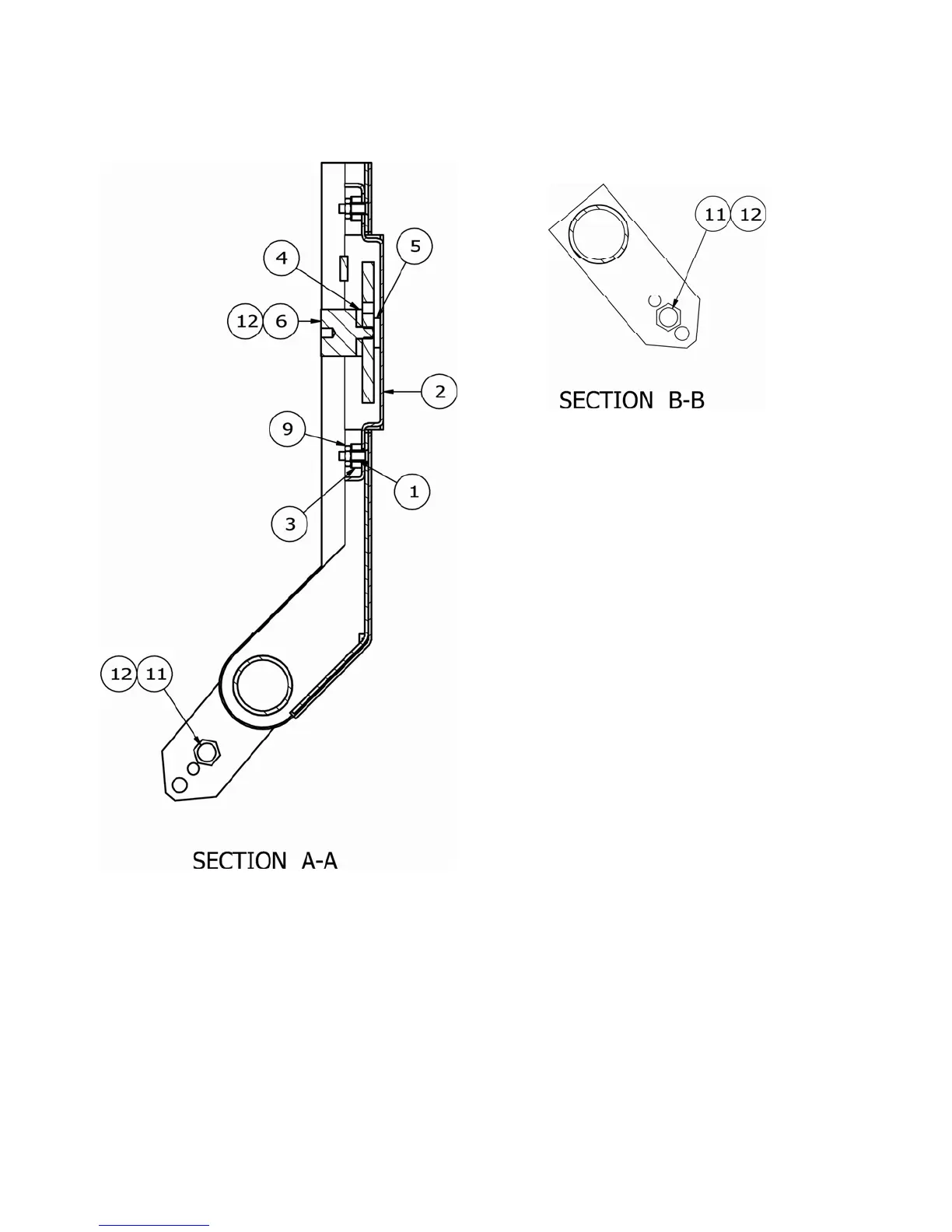
PARTS IDENTIFICATION
SUPPORT TRAY ASSEMBLY, CONT.
DESCRIPTION
SPACER
LOAD CELL FOOT WELDMENT
LOAD CELL MOUNT SPRING
LOAD CELL SPACER
LOAD CELL WASHER
WEIGHBRIDGE MOUNT, 7550
NUT #10-32 HEX Z/P
BALL STUD, GAS SPRING, 10 MM DIA, 5/16” - 18
ADHESIVE LOCTITE 242 THRDLCKR, REMOVABLE
ITEM QTY PART NUMBER
1 8 0031-B014-08
2 4 0065-B632-0A
3 8 0065-B635-08
4 4 0065-B636-08
5 8 0065-B637-08
6 4 0065-B642-08
9 16 6013-0295
11 4 6031-0220
12 AR 6560-1125
0065-0647-0M Rev A 7550 FOLD-UP STATIONARY SCALE
15

Other manuals for Detecto 7550

Related product manuals