EasyManua.ls Logo

Diloc VISION9+ - Unit Specifications and Features; Unit Components and Display Codes

Diloc VISION9+
Print Icon
To Next Page IconTo Next Page
To Next Page IconTo Next Page
To Previous Page IconTo Previous Page
To Previous Page IconTo Previous Page
Loading...
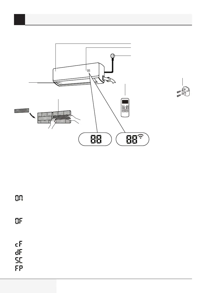
2.1 Unit parts
1
2
3
4
5
6
7
1. Front Panel
2. Dsplay wndow
3. Power Cable (Some Unts)
4. Remote control Holder (Some Unts)
5. Remote Control
6. Functonal Flter (On Front of Man Flter - Some Unts)
7. Louver
Display code meanings
” for 3 seconds when:
•TIMER ON s set
•FRESH, SWING, TURBO, SILENCE or SOLAR PV ECO features are turned on
” for 3 seconds when:
•TIMER OFF s sett
•FRESH, SWING, TURBO, SILENCE or SOLAR PV ECO features are turned off
” when ant-cold ar feature s turned on
” when defrostng
” when unt s self-cleanng
” when freeze protecton s turned on
2 Unit specifications and features
Splt-type room ar condtoner / User Manual
40 / 106 EN

Related product manuals