EasyManua.ls Logo

Directed Electronics Valet 561T - Remote Start Harness (H2), 5-Pin Connector

Directed Electronics Valet 561T
35 pages
Print Icon
To Next Page IconTo Next Page
To Next Page IconTo Next Page
To Previous Page IconTo Previous Page
To Previous Page IconTo Previous Page
Loading...
© 2005 Directed Electronics—all rights reserved
1177
rreemmoottee ssttaarrtt hhaarrnneessss ((HH22)),, 55--ppiinn ccoonnnneeccttoorr
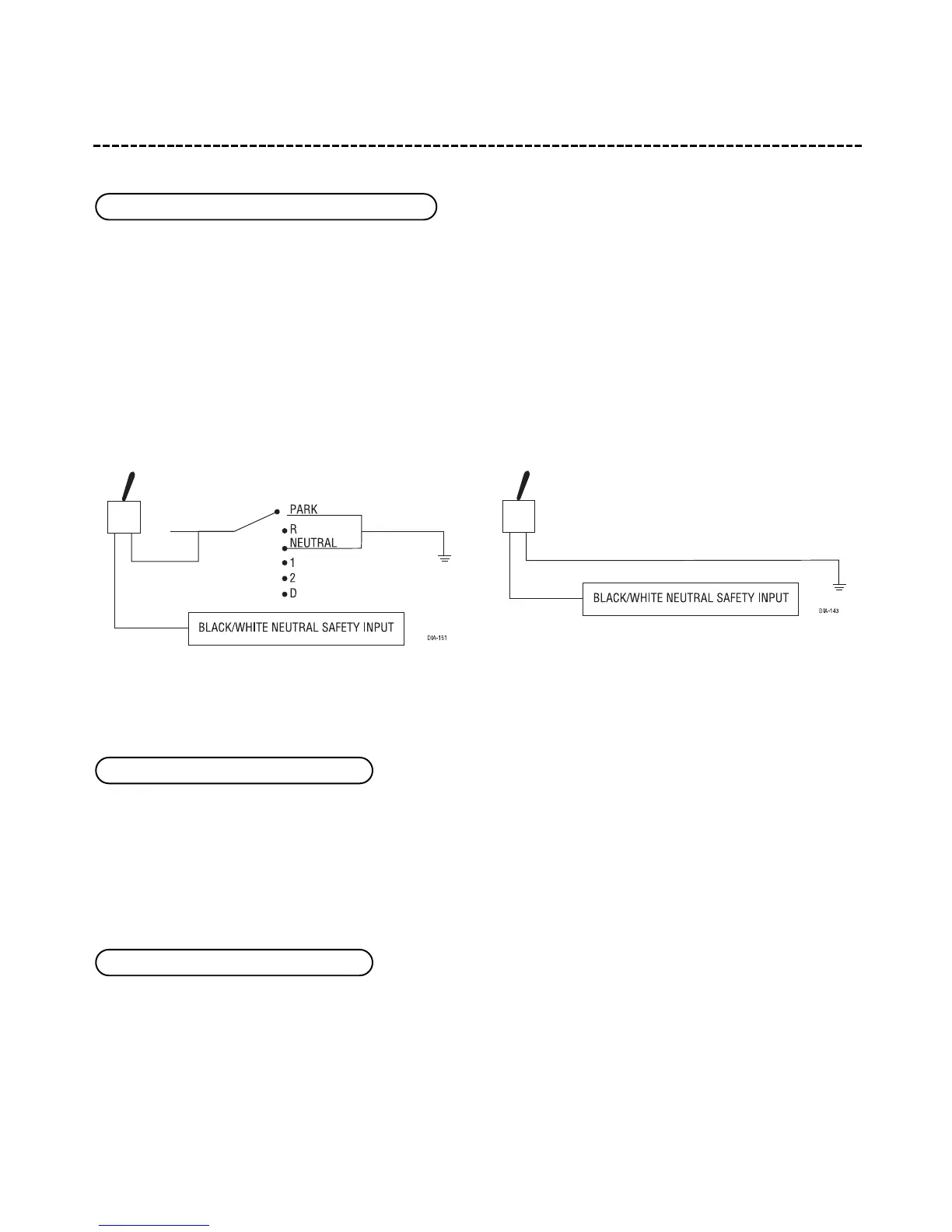
Connect this wire to the toggle (override) switch as shown in Figure A. Connect the other wire from the toggle switch
to the PARK/NEUTRAL switch in the vehicle. This wire will test with ground with the gear selector either in PARK or
NEUTRAL. This will prevent the vehicle from accidentally being started while in a drive gear. This input MUST rest at ground
in order for the remote start system to operate. Connected properly the vehicle will only start while in PARK or NEUTRAL.
In some vehicles, the PARK/NEUTRAL position switch activates a factory starter lock-out that will not allow the
starter to operate in a drive gear. In these vehicles, connect this wire to the toggle switch as shown in Figure B.
Connect the other wire from the toggle switch to chassis ground.
FFiigguurree AA FFiigguurree BB
IIMMPPOORRTTAANNTT!!
Always use the Vehicle Safety Check section of this guide to verify that the vehicle
cannot be started in ANY drive gear and that the override switch is functioning properly.
This input provides the module with information about the engine's revolutions per minute (RPMs). It can be con-
nected to the negative side of the coil in vehicles with conventional coils. In multi-coil and high energy ignition
systems locating a proper signal may be more difficult. (See
Finding the Wires You Need
section of this guide for
finding the tachometer wire.) Once connected, you must teach the system the tach signal. (See
Tach Learning
section of this guide.)
This wire MUST be connected to the vehicle's brake light wire. This is the wire that shows (+) 12V when the brake
pedal is depressed. The remote start will be disabled or shut down any time the brake pedal is depressed.
HH22//33 BBRROOWWNN ((++)) bbrraakkee sswwiittcchh iinnppuutt
HH22//22 VVIIOOLLEETT//WWHHIITTEE ttaacchhoommeetteerr iinnppuutt
HH22//11 BBLLAACCKK//WWHHIITTEE nneeuuttrraall ssaaffeettyy sswwiittcchh iinnppuutt

Other manuals for Directed Electronics Valet 561T

Related product manuals