EasyManua.ls Logo

DMP Electronics 9060 - Mounting the Keypad Securely

DMP Electronics 9060
48 pages
Print Icon
To Next Page IconTo Next Page
To Next Page IconTo Next Page
To Previous Page IconTo Previous Page
To Previous Page IconTo Previous Page
Loading...
9000 Series Installation and Programming Guide | Digital Monitoring Products, Inc. 9
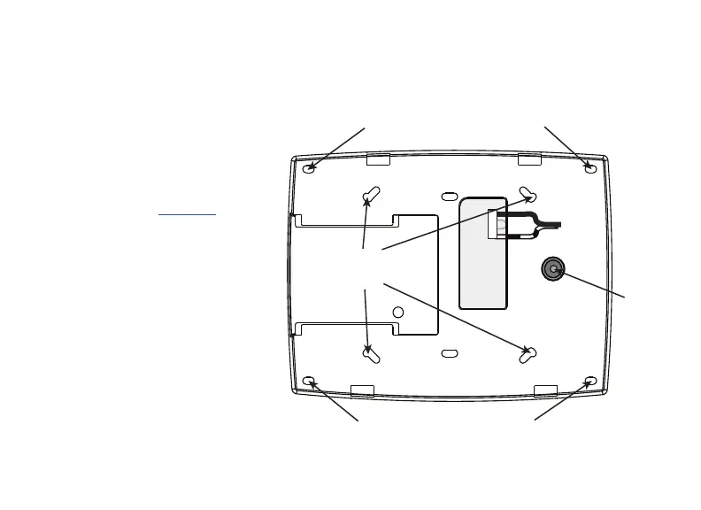
Mount the Keypad
All DMP keypads are designed to install on any desk stand, 4” plastic square box,
3-gang plastic switch box, or a flat surface. Do not install the keypad near metal
objects or other sources of interference.
Insert the included screws
into the mounting holes and
secure the keypad to the
wall, ensuring that the wall
tamper switch makes proper
contact. See Figure 3.
2
Black (-)
Black/White
stripe (+)
Wall
Tamper
Surface and Backbox Mounting Holes
Surface and Backbox Mounting Holes
Combined 4-Square and
3-Gang Switch Box
Mounting Holes
Figure 3: Mounting Holes on Keypad Back

Other manuals for DMP Electronics 9060

Related product manuals