EasyManua.ls Logo

Dometic CU402 - Page 34

Dometic CU402
40 pages
Print Icon
To Next Page IconTo Next Page
To Next Page IconTo Next Page
To Previous Page IconTo Previous Page
To Previous Page IconTo Previous Page
Loading...
FIGURES AND
TECHNICAL DRAWINGS
EN
34
PI8002
PI8022
PI8003
PI8023
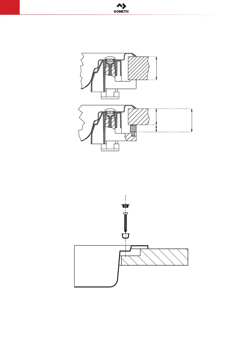
Y
X
21 mm
25 mm
16 mm
21 mm
X
Y
X
X
21 mm
25 mm
16 mm
21 mm
131
FIG. 3
MOD:
PI8621A
PI8621R
PI8621S
MOD:
7003
7023
7103
7123
MO8302
MO8303
MO8322
MO8323
MO8342
MO8362
MO8801D
MO8801S
MO8821D
MO8821S
MO9202D
MO9202S
MO9222D
MO9222S
PI7203
PI7223
PI7703
PI7723
PI8403
PI8423
PI8443
PI8463
PI8802D
PI8802S
PI8822D
PI8822S
PI8842D
PI8842S
PI8862D
PI8862S
PI9003
PI9023
MO8302 - MO8322
MO8303 - MO8323
PI8403 - PI8403GL
PI8423 - PI8423GL
PI8443 - PI8463

Other manuals for Dometic CU402

Related product manuals