EasyManua.ls Logo

Doosan G643 - Page 208

Doosan G643
260 pages
Print Icon
To Next Page IconTo Next Page
To Next Page IconTo Next Page
To Previous Page IconTo Previous Page
To Previous Page IconTo Previous Page
Loading...
G643(E) Service Manual Chapter 6. LPG FUEL DELIVERY SYSTEM 206
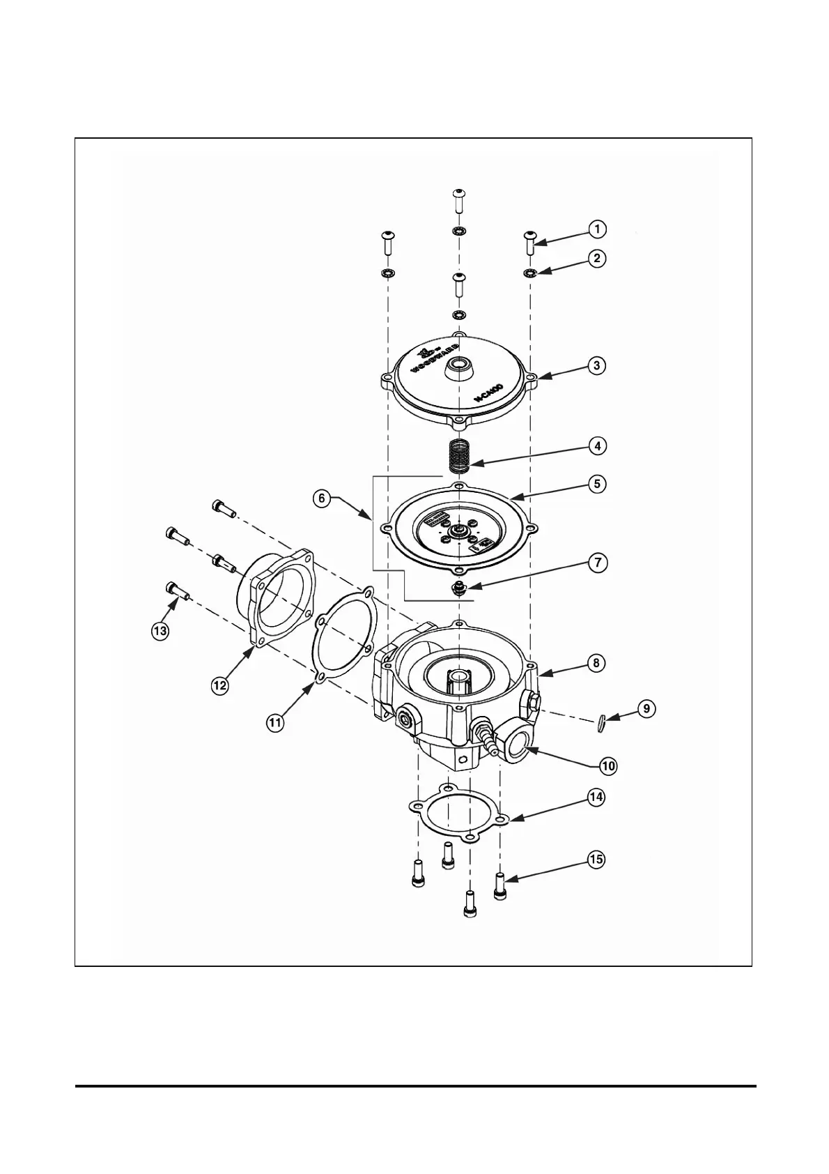
Exploded View of CA100 Mixer (Certified)
Figure 44. CA100 Certified Mixer Exploded View

Table of Contents

Related product manuals