EasyManua.ls Logo

DSE DSE7210 - Single Phase Without Earth Fault

DSE DSE7210
160 pages
Print Icon
To Next Page IconTo Next Page
To Next Page IconTo Next Page
To Previous Page IconTo Previous Page
To Previous Page IconTo Previous Page
Loading...
DSE7200 / 7300 Series Operators Manual
50
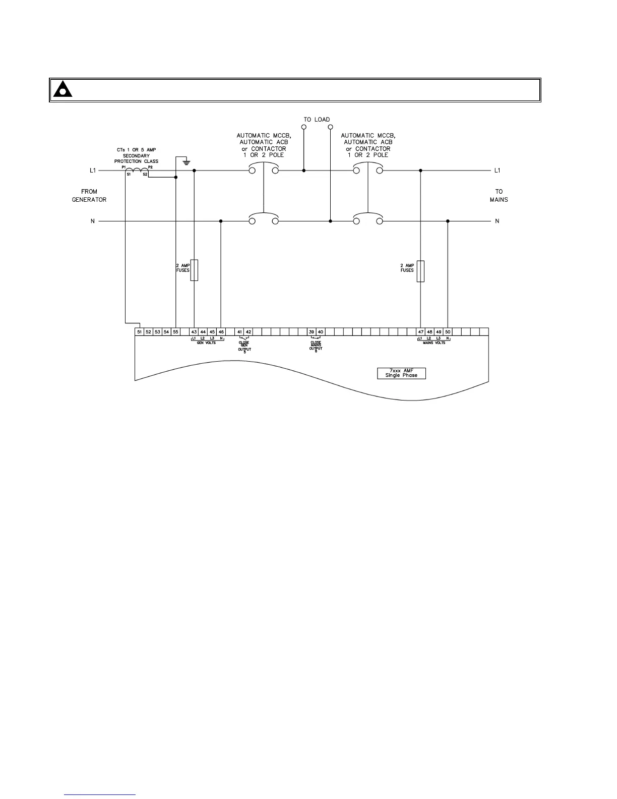
4.4.3 SINGLE PHASE WITHOUT EARTH FAULT
NOTE:- Mains sensing (Terminals 47-50) is not fitted to DSE7210/ DSE7310 autostart controllers.

Table of Contents

Related product manuals