EasyManua.ls Logo

Duplo DF-915 - Folding Misalignment Correction; Correcting Side Misalignment

Duplo DF-915
95 pages
To Next Page IconTo Next Page
To Next Page IconTo Next Page
To Previous Page IconTo Previous Page
To Previous Page IconTo Previous Page
Loading...
1-28
12H-M12M0-0309-0
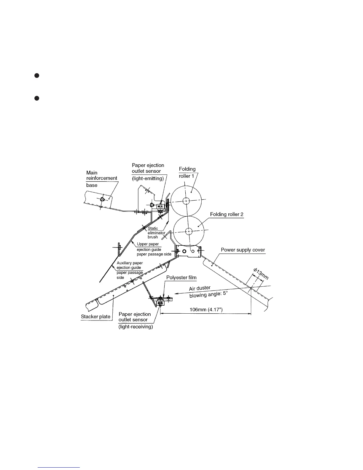
2-5-5. Replacing the paper ejection outlet sensor
To detect jams in the paper ejection section, a transmissive sensor (paper ejection outlet sensor) is provided at the
main reinforcement base and stacker plate. To eliminate static electricity of the paper ejected, a static eliminator brush
(stainless fiber) is provided on the upper paper ejection guide.
Take note of the following points when replacing the paper ejection outlet sensor.
After replacing the paper ejection outlet sensor, check that one sheet of 52.4 g/m
2
(14 lb) paper is detected
properly.
To prevent accumulation of paper dust on the sensor surface, the paper ejection outlet sensor (light-receiving)
protection cover is pasted with a polyester film.
2-5-6. Cleaning the paper ejection outlet sensor
The power supply cover has a φ13 mm hole to simplify cleaning of accumulated paper dust, etc. by blowing an Air
Duster (a commercially available air spray for eliminating dust) from this hole. Remove folding plate 2, insert the spray
nozzle facing down at 5° into the cover hole and blow air.

Table of Contents

Other manuals for Duplo DF-915

Related product manuals