EasyManua.ls Logo

Dyna-Glo DGP321SNP - Page 70

Dyna-Glo DGP321SNP
93 pages
Print Icon
To Next Page IconTo Next Page
To Next Page IconTo Next Page
To Previous Page IconTo Previous Page
To Previous Page IconTo Previous Page
Loading...
70
AA
W
L
G
AA
M6x16
Bolt x4
AA
Hardware Used
K
AA
L
G
AA
M6x16
Bolt x2
AA
Hardware Used
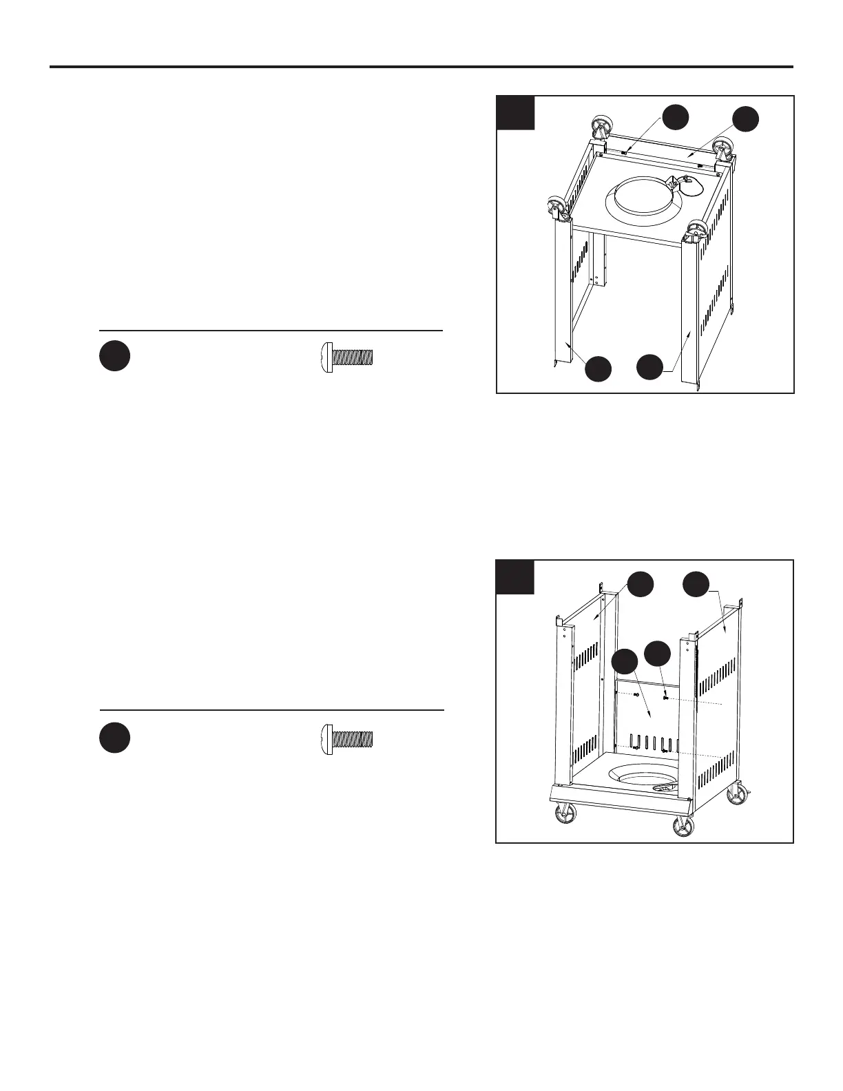
INSTRUCCIONES DE ENSAMBLAJE
3. Fije el conjunto del panel del borde inferior
(K) al conjunto del panel del lado izquierdo
del carro (L) y al conjunto del panel del lado
derecho del carro (G) con dos pernos M6 × 16
(AA).
Ajuste rmemente TODOS los pernos a partir
del paso 2.
Herramientas y tornillería utilizadas
4. Fije el panel trasero del carro (W) al conjunto
del panel del lado izquierdo del carro (L) y al
conjunto del panel del lado derecho del carro
(G) con los cuatro pernos M6 × 16 (AA).
3
4
AA
AA
W
L G
L
K
G
Herramientas y tornillería utilizadas
AA
AA
Pernos M6 × 16
Pernos M6 × 16
× 2
× 4
AA
BB
DD
CC
M6
Plain
Qty. 2
M6
Qty. 2
M6x16
Bolt
Qty. 18
Washer
EE
M6x35
Bolt
Qty. 4
Washer
FF
M6
Wing Nut
Qty. 2
GG
M3x10
Bolt
Qty. 4
HH
M6x12
Flat Bolt
Qty. 8
Shoulder
Bolt
Qty.4
II
Qty. 1
Wrench
Spring
AA
BB
DD
CC
M6
Plain
Qty. 2
M6
Qty. 2
M6x16
Bolt
Qty. 18
Washer
EE
M6x35
Bolt
Qty. 4
Washer
FF
M6
Wing Nut
Qty. 2
GG
M3x10
Bolt
Qty. 4
HH
M6x12
Flat Bolt
Qty. 8
Shoulder
Bolt
Qty.4
II
Qty. 1
Wrench
Spring

Related product manuals