EasyManua.ls Logo

Dyna-Glo DGP321SNP - Page 8

Dyna-Glo DGP321SNP
93 pages
Print Icon
To Next Page IconTo Next Page
To Next Page IconTo Next Page
To Previous Page IconTo Previous Page
To Previous Page IconTo Previous Page
Loading...
8
AA
W
L
G
AA
M6x16
Bolt x4
AA
Hardware Used
K
AA
L
G
AA
M6x16
Bolt x2
AA
Hardware Used
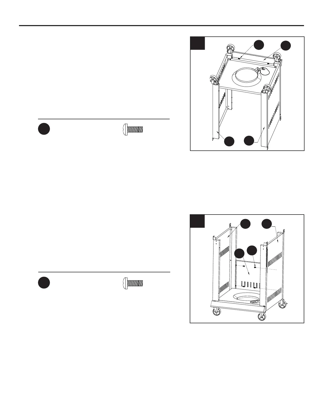
ASSEMBLY INSTRUCTIONS
3. Attach the bottom panel skirt assembly (K) to
the cart left side panel assembly (L) and
the cart right side panel assembly (G) with two
M6x16 bolts (AA).
Tighten ALL bolts from step 2 securely.
Hardware Used
4. Attach the cart rear panel (W) to the cart left
side panel assembly (L) and the cart right side
panel assembly (G) with the four M6x16 bolts
(AA).
3
4
AA
AA
W
L G
L
K
G
Hardware Used
AA
AA
M6x16 Bolt
M6x16 Bolt
x 2
x 4
AA
BB
DD
CC
M6
Plain
Qty. 2
M6
Qty. 2
M6x16
Bolt
Qty. 18
Washer
EE
M6x35
Bolt
Qty. 4
Washer
FF
M6
Wing Nut
Qty. 2
GG
M3x10
Bolt
Qty. 4
HH
M6x12
Flat Bolt
Qty. 8
Shoulder
Bolt
Qty.4
II
Qty. 1
Wrench
Spring
AA
BB
DD
CC
M6
Plain
Qty. 2
M6
Qty. 2
M6x16
Bolt
Qty. 18
Washer
EE
M6x35
Bolt
Qty. 4
Washer
FF
M6
Wing Nut
Qty. 2
GG
M3x10
Bolt
Qty. 4
HH
M6x12
Flat Bolt
Qty. 8
Shoulder
Bolt
Qty.4
II
Qty. 1
Wrench
Spring

Related product manuals