EasyManua.ls Logo

Dyna-Glo DGP552SSP - Step 7: Mount Door Handles; Step 8: Install Door Hinges

Dyna-Glo DGP552SSP
93 pages
Print Icon
To Next Page IconTo Next Page
To Next Page IconTo Next Page
To Previous Page IconTo Previous Page
To Previous Page IconTo Previous Page
Loading...
10
K
Q
O
L
P
J
AA
K
Q
ASSEMBLY INSTRUCTIONS
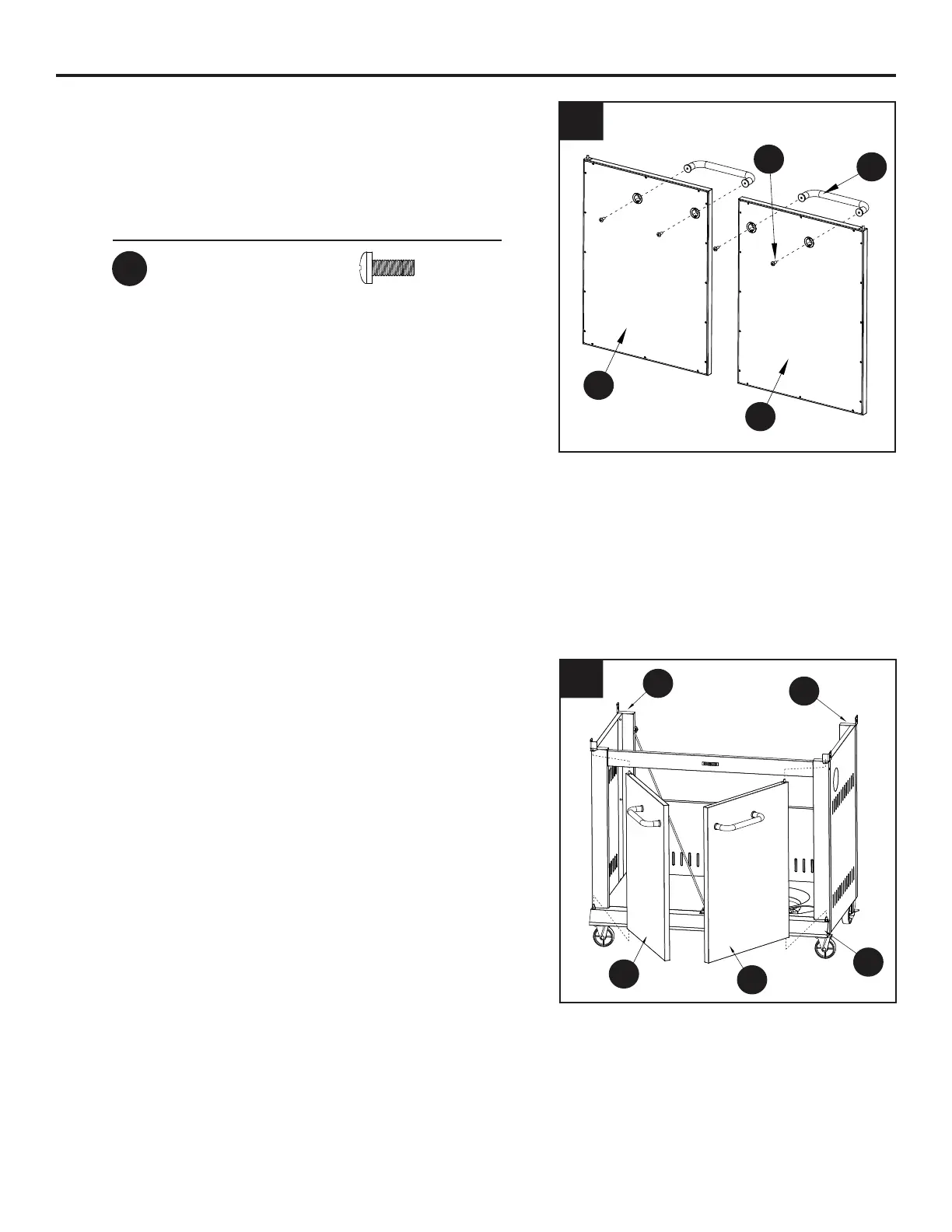
8. Insert the bottom hinge pin of the cart bottom
panel skirt(O) into the lower hole on the left
door assembly (Q), then press the upper door
spring hinge pin into the hole on the cart left
side panel assembly (P) as shown.
Repeat with the right door assembly (K).
7. Attach the door handle (J) to the left door
assembly (Q) and the right door assembly (K)
with four M6x16 bolts (AA).
7
8
Hardware Used
AA
M6x16 Bolt
x 4
J
K
Q
Q
K
O
L
P
AA

Related product manuals