EasyManua.ls Logo

EBARA E-SPD+ MT 2200 - TECHNICAL DATA; 1. HYDRAULIC INSTALLATION (CONSTANT PRESSURE)

EBARA E-SPD+ MT 2200
396 pages
Print Icon
To Next Page IconTo Next Page
To Next Page IconTo Next Page
To Previous Page IconTo Previous Page
To Previous Page IconTo Previous Page
Loading...
382
2. HYDRAULIC INSTALLATION (DIFFERENTIAL PRESSURE)
TECHNICAL DATA
OPTION A: 2 PRESSURE SENSORS OPTION B: 1 DIFFERENTIAL PRESSURE SENSOR
Figure 2
*Note: For Option A, connect discharge side sensor to 4-20mA (1) and suction side sensor to 4-20mA (2).
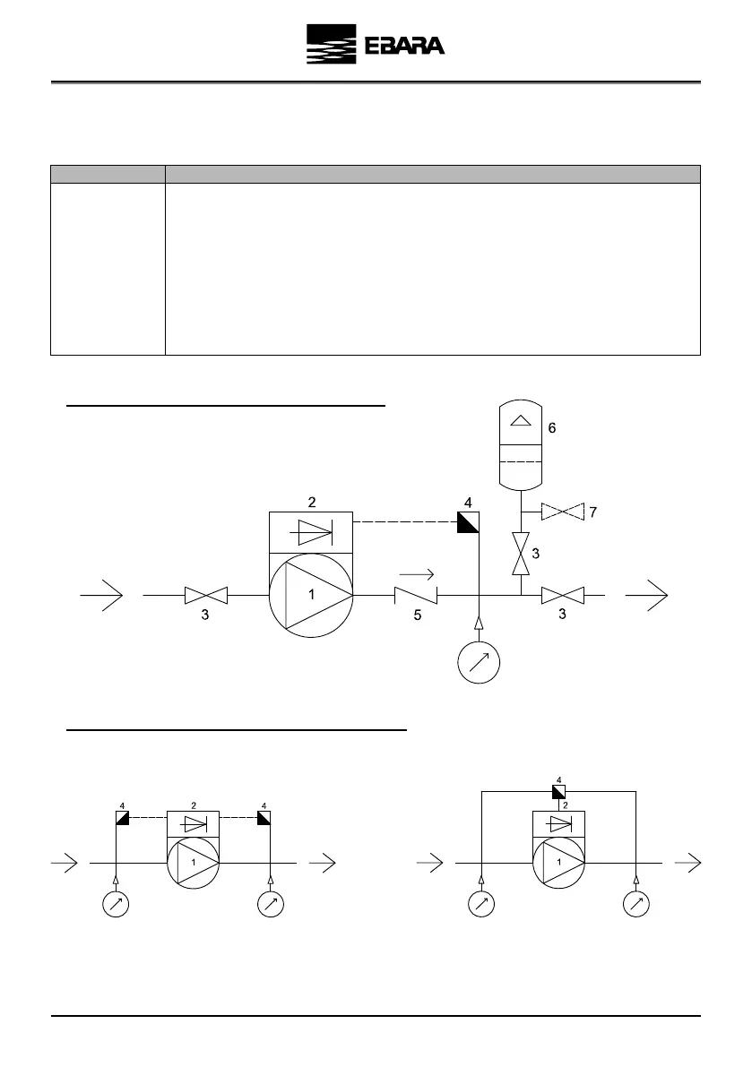
1. HYDRAULIC INSTALLATION (CONSTANT PRESSURE)
1: Pump
2: E-SPD+ Device
3: Gate valve
4: Pressure transducer
5: Non return valve
6: Pressure tank
7: Drain off valve
INFOLEGEND
For correct operation of the pressurization system, we recommend the use small size pressure tank. It is necessary to stabilize any pressure
fluctuations during the variation frequency of the inverter.
Pay attention to the calculation for pre-charge of the pressure tank. In case of changes in the reference pressure, the pre-charge of the tank must
be adjusted according to the calculation.
Pp = Pre-charge pressure
Ps = Setpoint pressure
Dr = Delta restart pressure
Pp = (Ps – Dr) – 0,5 bar
Figure 1

Table of Contents

Related product manuals